| # | Part | Description | Price | Req | Notes | Availability |
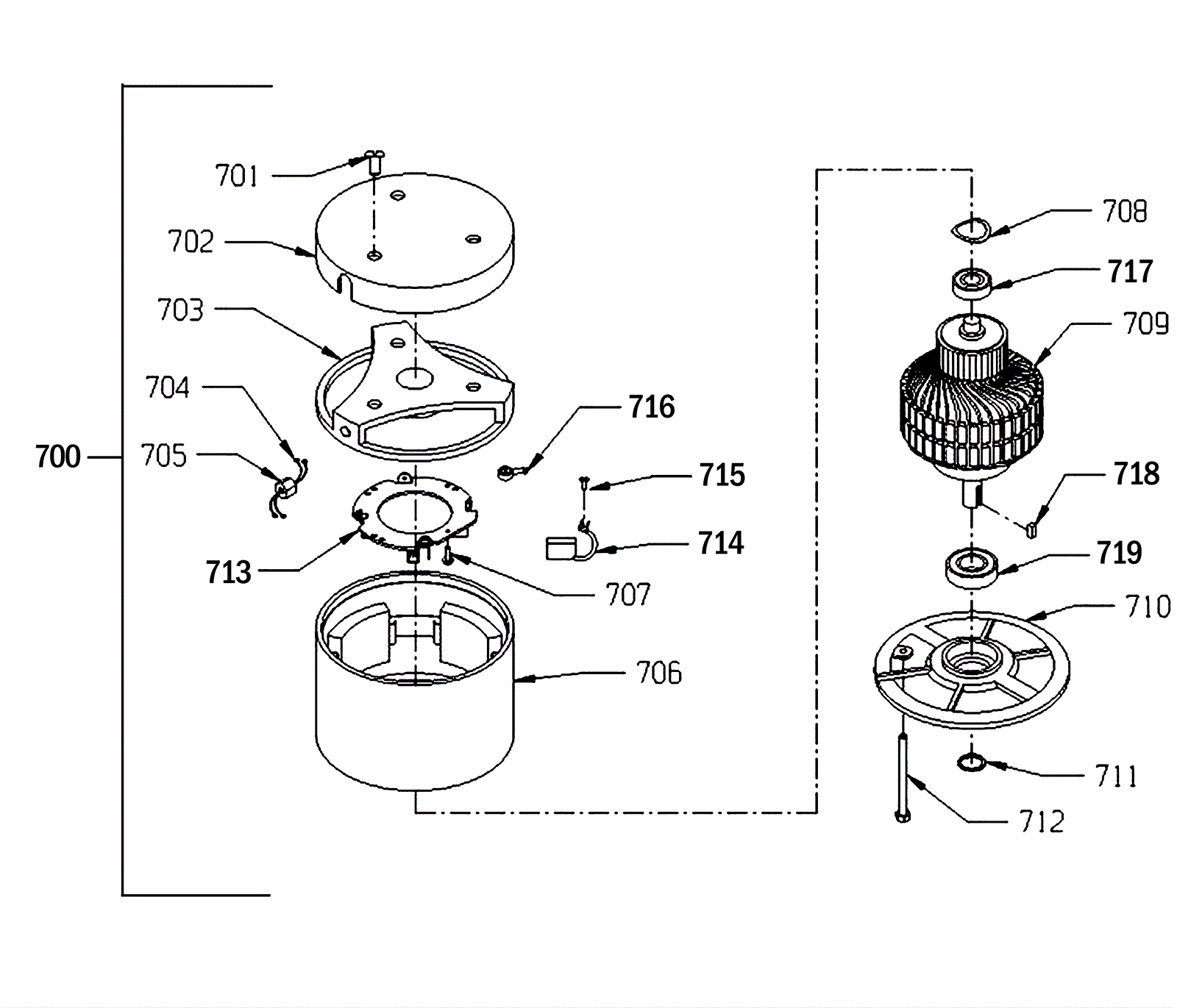
700a |
164-0172
|
36V drive motor |
$1,665.64
|
1 |
(includes 701-719) (OEM) |
ships same day |
700b |
991-5114
|
36V drive motor |
$800.31
|
1 |
(includes 701-719) (NON-OEM) |
usually ships 18-24 days |
701 |
N/A
|
Not available |
Call for price
|
3 |
(Pan head screw) |
usually ships 3-26 days |
702 |
164-0320
|
Top cover |
$63.72
|
1 |
|
usually ships 1-5 days |
703 |
N/A
|
Not available |
Call for price
|
1 |
(Top end bell assembly) |
usually ships 3-26 days |
704 |
164-0323
|
Lead assembly (1 wire with terminals) |
$124.74
|
2 |
|
usually ships 1-5 days |
705 |
N/A
|
Not available |
Call for price
|
1 |
(Strain relief) |
usually ships 3-26 days |
706 |
164-0327
|
Stator frame assembly with magnets |
$909.88
|
1 |
|
usually ships 1-5 days |
707 |
999-0572
|
Screw 10-24 x 1/2 pan head self-tapping zinc |
$0.99
|
3 |
|
ships same day |
708 |
164-0328
|
Washer 1 7/8 wave |
$4.57
|
1 |
|
usually ships 19-25 days |
709 |
164-0330
|
Armature assembly with bearings |
$1,238.84
|
1 |
(includes 717-719) |
usually ships 1-5 days |
710 |
164-0333
|
Bottom end bell |
$149.57
|
1 |
|
usually ships 1-5 days |
711 |
164-0335
|
Shaft seal |
$27.31
|
1 |
|
usually ships 1-5 days |
712 |
N/A
|
Not available |
Call for price
|
2 |
(Thru bolt) |
usually ships 3-26 days |
713 |
164-0326
|
Brush ring assembly with springs and carbon brush |
$270.84
|
1 |
(includes 714-716) |
usually ships 1-5 days |
714 |
164-0324
|
Carbon brush spring |
$20.64
|
4 |
|
usually ships 19-25 days |
715 |
999-0811
|
Screw 10-32 x 3/8 pan head phillips stainless steel |
$0.99
|
4 |
|
ships same day |
716 |
164-0325
|
Carbon brush with lead and terminal (sold individually) |
$20.38
|
4 |
|
usually ships 19-25 days |
717 |
164-0329
|
Top rotor bearing |
$35.00
|
1 |
|
usually ships 19-25 days |
718 |
164-0132
|
Square keyway 1/4 x 1/4 |
$4.82
|
1 |
|
ships same day |
719 |
164-0332
|
Bearing (shaft end) |
$33.92
|
1 |
|
usually ships 19-25 days |