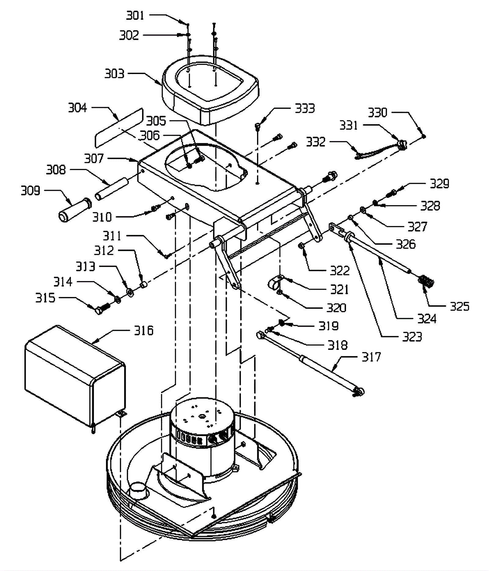
| # | Part | Description | Price | Req | Notes | Availability |
301 |
999-0572
|
Screw 10-24 x 1/2 pan head self-tapping zinc |
$0.99
|
4 |
|
ships same day |
302 |
999-0998
|
Washer #10 flat stainless steel |
$0.99
|
4 |
|
ships same day |
303 |
164-0683
|
Motor cover |
$173.28
|
1 |
|
usually ships 19-25 days |
304 |
164-3903
|
Front decal (OBSOLETE) |
$9.19
|
1 |
|
usually ships 1-5 days |
305 |
999-0038
|
Bolt 3/8-16 x 1 hex head grade 5 zinc plated |
$1.87
|
1 |
|
ships same day |
306 |
999-0034
|
Washer 3/8 split lock plain finish |
$1.82
|
1 |
|
ships same day |
307 |
164-0764
|
Brush assembly arm |
$553.03
|
1 |
|
usually ships 1-5 days |
308 |
164-0684
|
Grip base |
$18.92
|
1 |
|
usually ships 1-5 days |
309a |
164-0304
|
Handle grip |
$71.48
|
1 |
|
usually ships 1-5 days |
309b |
991-8571
|
Handle grip |
$4.04
|
1 |
(NON-OEM) |
usually ships 18-24 days |
310 |
164-1458
|
Bolt 5/16-18 x 3/8 long socket head |
$11.67
|
4 |
|
usually ships 19-25 days |
311 |
999-0159
|
Screw 10-24 x 7/8 round head slotted zinc plated |
$0.99
|
2 |
|
ships same day |
312 |
164-0130
|
Bushing |
$4.18
|
2 |
|
ships same day |
313 |
999-0114
|
Washer 1/2 SAE flat |
$0.99
|
2 |
|
ships same day |
314 |
999-0126
|
Washer 1/2 split lock |
$1.28
|
2 |
|
ships same day |
315 |
999-0116
|
Bolt 1/2-13 x 1 1/2 hex head grade 5 |
$1.36
|
2 |
|
ships same day |
316 |
164-7983
|
Cloth vacuum bag |
$86.48
|
1 |
|
ships same day |
317a |
164-7319
|
Gas spring with spring clip |
$90.72
|
1 |
|
usually ships 19-25 days |
317b |
164-7320
|
Spring clip |
$2.70
|
2 |
|
usually ships 19-25 days |
317c |
991-6023
|
Gas spring with spring clip |
$54.56
|
1 |
|
usually ships 18-24 days |
318 |
164-7307
|
Stud |
$4.95
|
1 |
|
usually ships 19-25 days |
319 |
999-0105
|
Washer 5/16 external star lock zinc plated |
$0.99
|
2 |
|
ships same day |
320 |
999-0211
|
Nut 5/16-18 hex nylon insert lock zinc plated |
$0.99
|
1 |
|
ships same day |
321 |
164-0934
|
P clamp |
$5.90
|
1 |
|
usually ships 19-25 days |
322 |
999-0188
|
Nut 3/8-16 nylon insert lock zinc plated |
$0.99
|
1 |
|
ships same day |
323 |
164-9120
|
1/2 inch shaft collar |
$10.85
|
1 |
|
usually ships 19-25 days |
324 |
164-7317
|
Spring guide |
$125.85
|
1 |
|
usually ships 19-25 days |
325 |
164-7316
|
Compression spring |
$11.92
|
1 |
|
ships same day |
326 |
164-0151
|
Spacer |
$3.85
|
1 |
|
usually ships 19-25 days |
327 |
164-0941
|
Washer 13/32 x 13/16 |
$7.38
|
1 |
|
ships same day |
328 |
999-0034
|
Washer 3/8 split lock plain finish |
$1.82
|
1 |
|
ships same day |
329 |
999-0039
|
Bolt 3/8-16 x 1 1/4 hex head grade 5 zinc plated |
$0.99
|
1 |
|
ships same day |
330 |
999-0211
|
Nut 5/16-18 hex nylon insert lock zinc plated |
$0.99
|
2 |
|
ships same day |
331 |
164-7321
|
Tilt switch |
$83.20
|
1 |
|
usually ships 19-25 days |
332 |
998-0001
|
1/4 spade male terminal 10-12 gauge |
$0.99
|
2 |
|
ships same day |
333 |
999-0030
|
Bolt 5/16-18 x 5/8 hex head grade 5 zinc plated |
$1.14
|
1 |
|
ships same day |