| # | Part | Description | Price | Req | Notes | Availability |
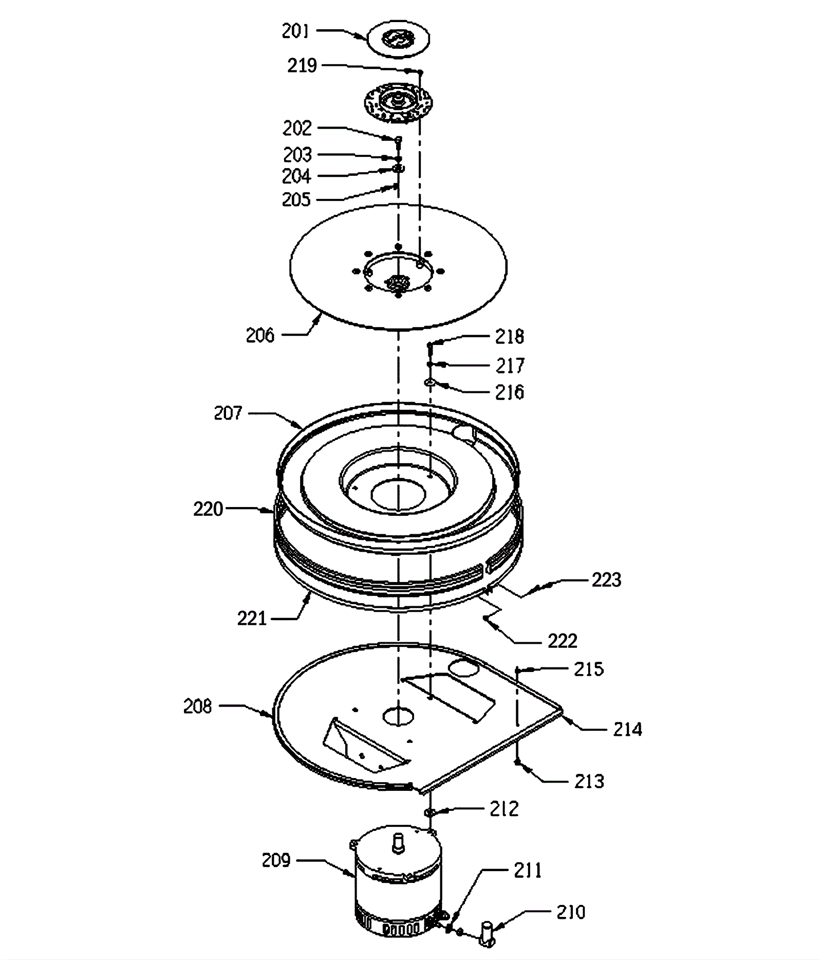
201 |
991-2206
|
Center-Lok 3 pad holder |
$47.32
|
1 |
(includes 219) |
ships same day |
202 |
999-0614
|
Bolt 5/16-24 x 7/8 hex head grade 5 zinc plated |
$0.99
|
1 |
|
ships same day |
203 |
999-0028
|
Washer 5/16 split lock plain finish |
$0.99
|
1 |
|
ships same day |
204 |
999-0033
|
Washer 7/16 SAE flat |
$0.99
|
1 |
|
ships same day |
205 |
164-1326
|
Square keyway |
$7.38
|
1 |
|
ships same day |
206 |
164-6384
|
Pad driver assembly |
$277.48
|
1 |
|
ships same day |
207 |
164-9170
|
Flexiwall shield assembly |
$572.11
|
1 |
(includes 220 thru 223) |
usually ships 19-25 days |
208 |
164-9029
|
Metal core quickedge trim (sold by the foot) |
$5.15
|
5 |
(cut to 55 inches) |
usually ships 19-25 days |
209 |
164-6405
|
36V 2500 rpm imperial motor |
$1,279.23
|
1 |
|
usually ships 19-25 days |
210 |
164-9052
|
Terminal boot (red) |
$9.31
|
1 |
|
usually ships 1-5 days |
211 |
999-0105
|
Washer 5/16 external star lock zinc plated |
$0.99
|
2 |
|
ships same day |
212 |
999-0335
|
Washer 1/4 x 5/8 SAE flat stainless steel |
$0.99
|
1 |
|
ships same day |
213 |
164-7312
|
Stud 10-32 x 3/8 with filter bag |
$3.16
|
1 |
|
usually ships 1-5 days |
214 |
164-0682
|
20 inch motor mount |
$351.15
|
1 |
|
usually ships 19-25 days |
215 |
999-1353
|
Nut 10-32 hex nylon lock insert stainless steel |
$0.99
|
1 |
|
ships same day |
216 |
999-0160
|
Washer 1/4 x 1 1/4 fender zinc plated |
$0.99
|
3 |
|
ships same day |
217 |
999-0060
|
Washer 1/4 split lock plain finish |
$0.99
|
3 |
|
ships same day |
218 |
999-0383
|
Screw 1/4-20 x 1/2 button head socket cap plain finish |
$0.99
|
3 |
|
ships same day |
219 |
999-0458
|
Screw 8 x 1/2 pan head phillips T-A sheet metal zinc |
$0.99
|
3 |
|
ships same day |
220 |
164-3101
|
20 inch bumper |
$269.74
|
1 |
|
usually ships 19-25 days |
221 |
164-3102
|
20 inch bumper strap |
$46.74
|
1 |
|
ships same day |
222 |
999-0211
|
Nut 5/16-18 hex nylon insert lock zinc plated |
$0.99
|
1 |
|
ships same day |
223 |
999-0009
|
Screw 10-24 x 1 round head slotted zinc plated |
$0.99
|
1 |
|
ships same day |