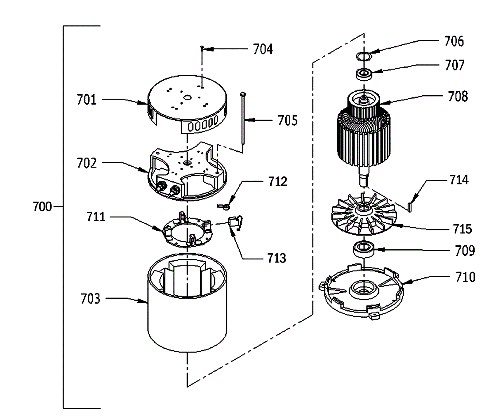
| # | Part | Description | Price | Req | Notes | Availability |
700 |
164-0681
|
24V 2HP brush motor |
$1,499.87
|
1 |
(includes 701 thru 715) |
usually ships 19-25 days |
701 |
164-5309
|
Commutator bracket cover |
$111.16
|
1 |
|
usually ships 1-5 days |
702a |
164-6406
|
Commutator bracket assembly |
$489.82
|
1 |
(includes 702b and 711) |
usually ships 1-5 days |
702b |
164-6407
|
Commutator bracket |
$134.95
|
1 |
|
usually ships 19-25 days |
703 |
164-5288
|
Stator frame assembly with clips & magnets |
$312.00
|
1 |
|
ships same day |
704 |
999-0572
|
Screw 10-24 x 1/2 pan head self-tapping zinc |
$0.99
|
4 |
|
ships same day |
705 |
164-5306
|
Thru bolt |
$3.76
|
2 |
|
usually ships 1-5 days |
706 |
164-5310
|
Washer helical |
$5.34
|
1 |
|
usually ships 1-5 days |
707 |
164-5291
|
Top end bearing |
$64.23
|
1 |
|
usually ships 19-25 days |
708 |
164-6414
|
Armature-2500 rpm |
$560.40
|
1 |
(includes 714 and 715) |
usually ships 1-5 days |
709 |
164-5290
|
Bottom bearing |
$64.23
|
1 |
|
usually ships 19-25 days |
710 |
164-6408
|
Bearing bracket |
$112.64
|
1 |
|
usually ships 1-5 days |
711 |
164-6413
|
Brush board assembly |
$360.34
|
1 |
(includes 712 and 713) |
usually ships 19-25 days |
712 |
164-6412
|
Spring |
$18.92
|
4 |
|
usually ships 19-25 days |
713 |
164-1560
|
Carbon brush (sold individually) |
$50.64
|
4 |
|
usually ships 19-25 days |
714 |
164-1326
|
Square keyway |
$7.38
|
1 |
|
ships same day |
715 |
164-6410
|
Aluminum fan |
$313.41
|
1 |
|
usually ships 1-5 days |