| # | Part | Description | Price | Req | Notes | Availability |
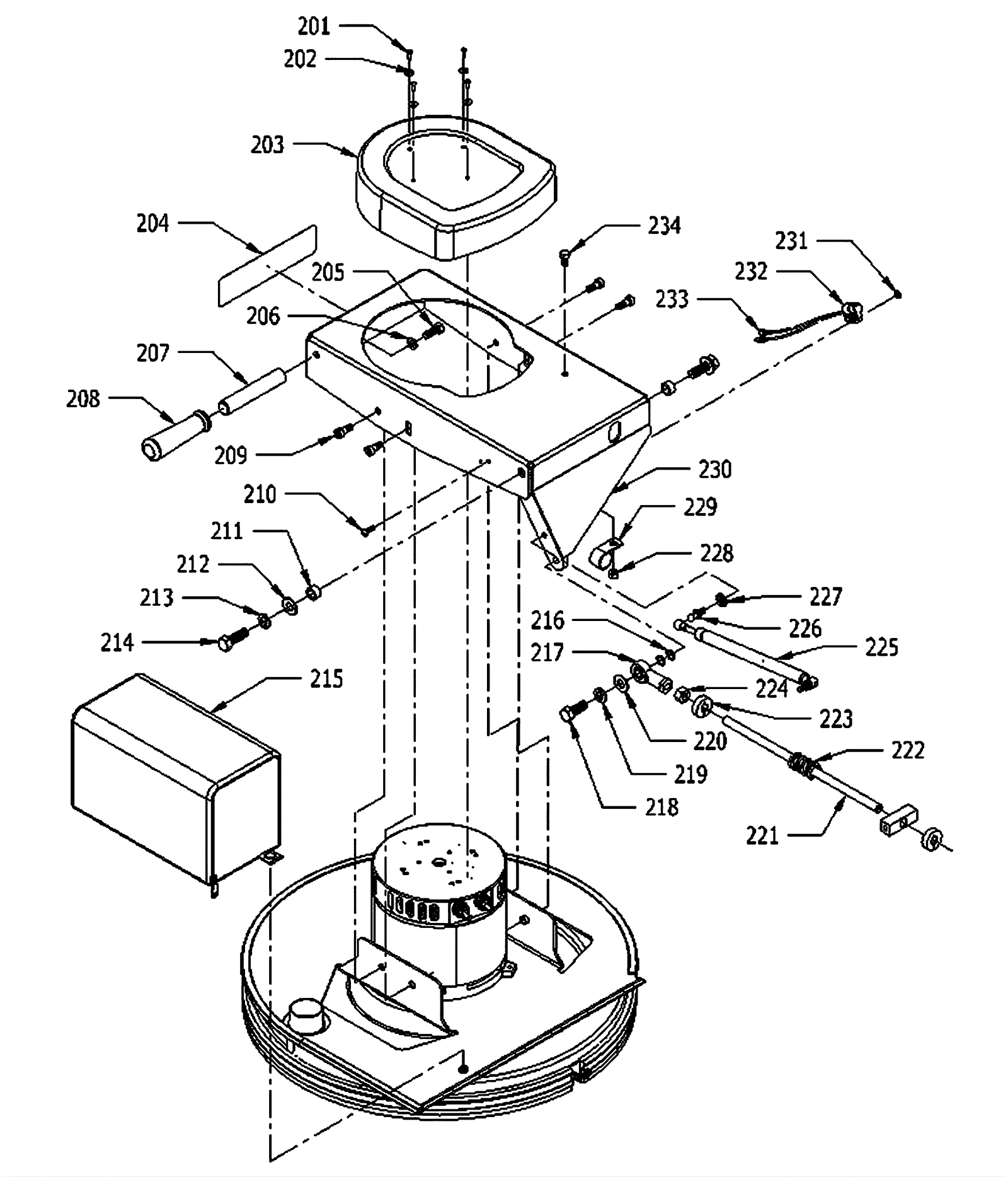
201 |
999-0572
|
Screw 10-24 x 1/2 pan head self-tapping zinc |
$0.99
|
4 |
|
ships same day |
202 |
999-0998
|
Washer #10 flat stainless steel |
$0.99
|
4 |
|
ships same day |
203 |
164-0683
|
Motor cover |
$173.28
|
1 |
|
usually ships 19-25 days |
204 |
164-3903
|
Front decal (OBSOLETE) |
$9.19
|
1 |
|
usually ships 1-5 days |
205 |
999-0038
|
Bolt 3/8-16 x 1 hex head grade 5 zinc plated |
$1.87
|
1 |
|
ships same day |
206 |
999-0034
|
Washer 3/8 split lock plain finish |
$1.82
|
1 |
|
ships same day |
207 |
164-0684
|
Grip base |
$18.92
|
1 |
|
usually ships 1-5 days |
208a |
164-0304
|
Handle grip |
$71.48
|
1 |
|
usually ships 1-5 days |
208b |
991-8571
|
Handle grip |
$4.04
|
1 |
(NON-OEM) |
usually ships 18-24 days |
209 |
164-1458
|
Bolt 5/16-18 x 3/8 long socket head |
$11.67
|
4 |
|
usually ships 19-25 days |
210 |
999-0159
|
Screw 10-24 x 7/8 round head slotted zinc plated |
$0.99
|
2 |
|
ships same day |
211 |
164-0841
|
Bushing |
$6.41
|
2 |
|
usually ships 19-25 days |
212 |
999-0114
|
Washer 1/2 SAE flat |
$0.99
|
2 |
|
ships same day |
213 |
999-0126
|
Washer 1/2 split lock |
$1.28
|
2 |
|
ships same day |
214 |
999-0116
|
Bolt 1/2-13 x 1 1/2 hex head grade 5 |
$1.36
|
2 |
|
ships same day |
215 |
164-7983
|
Cloth vacuum bag |
$86.48
|
1 |
|
ships same day |
216 |
164-6007
|
Spacer |
$2.70
|
2 |
|
usually ships 19-25 days |
217 |
164-0238
|
Ball joint |
$59.10
|
1 |
|
usually ships 19-25 days |
218 |
999-0116
|
Bolt 1/2-13 x 1 1/2 hex head grade 5 |
$1.36
|
1 |
|
ships same day |
219 |
999-0126
|
Washer 1/2 split lock |
$1.28
|
1 |
|
ships same day |
220 |
999-0114
|
Washer 1/2 SAE flat |
$0.99
|
1 |
|
ships same day |
221 |
164-7421
|
Adjustable spring guide |
$16.54
|
1 |
|
usually ships 19-25 days |
222 |
164-7316
|
Compression spring |
$11.92
|
1 |
|
ships same day |
223 |
164-9120
|
1/2 inch shaft collar |
$10.85
|
1 |
|
usually ships 19-25 days |
224 |
999-0134
|
Nut 1/2-20 hex jam plain finish |
$0.99
|
1 |
|
ships same day |
225a |
164-7319
|
Gas spring with spring clip |
$90.72
|
1 |
|
usually ships 19-25 days |
225b |
164-7320
|
Spring clip |
$2.70
|
2 |
|
usually ships 19-25 days |
225c |
991-6023
|
Gas spring with spring clip |
$54.56
|
1 |
|
usually ships 18-24 days |
226 |
164-7307
|
Stud |
$4.95
|
1 |
|
usually ships 19-25 days |
227 |
999-0105
|
Washer 5/16 external star lock zinc plated |
$0.99
|
2 |
|
ships same day |
228 |
999-0211
|
Nut 5/16-18 hex nylon insert lock zinc plated |
$0.99
|
1 |
|
ships same day |
229 |
164-0934
|
P clamp |
$5.90
|
1 |
|
usually ships 19-25 days |
230 |
164-0679
|
Brush arm assembly |
$353.29
|
1 |
|
usually ships 1-5 days |
231 |
999-0211
|
Nut 5/16-18 hex nylon insert lock zinc plated |
$0.99
|
2 |
|
ships same day |
232 |
164-7321
|
Tilt switch |
$83.20
|
1 |
|
usually ships 19-25 days |
233 |
998-0001
|
1/4 spade male terminal 10-12 gauge |
$0.99
|
2 |
|
ships same day |
234 |
999-0030
|
Bolt 5/16-18 x 5/8 hex head grade 5 zinc plated |
$1.14
|
1 |
|
ships same day |