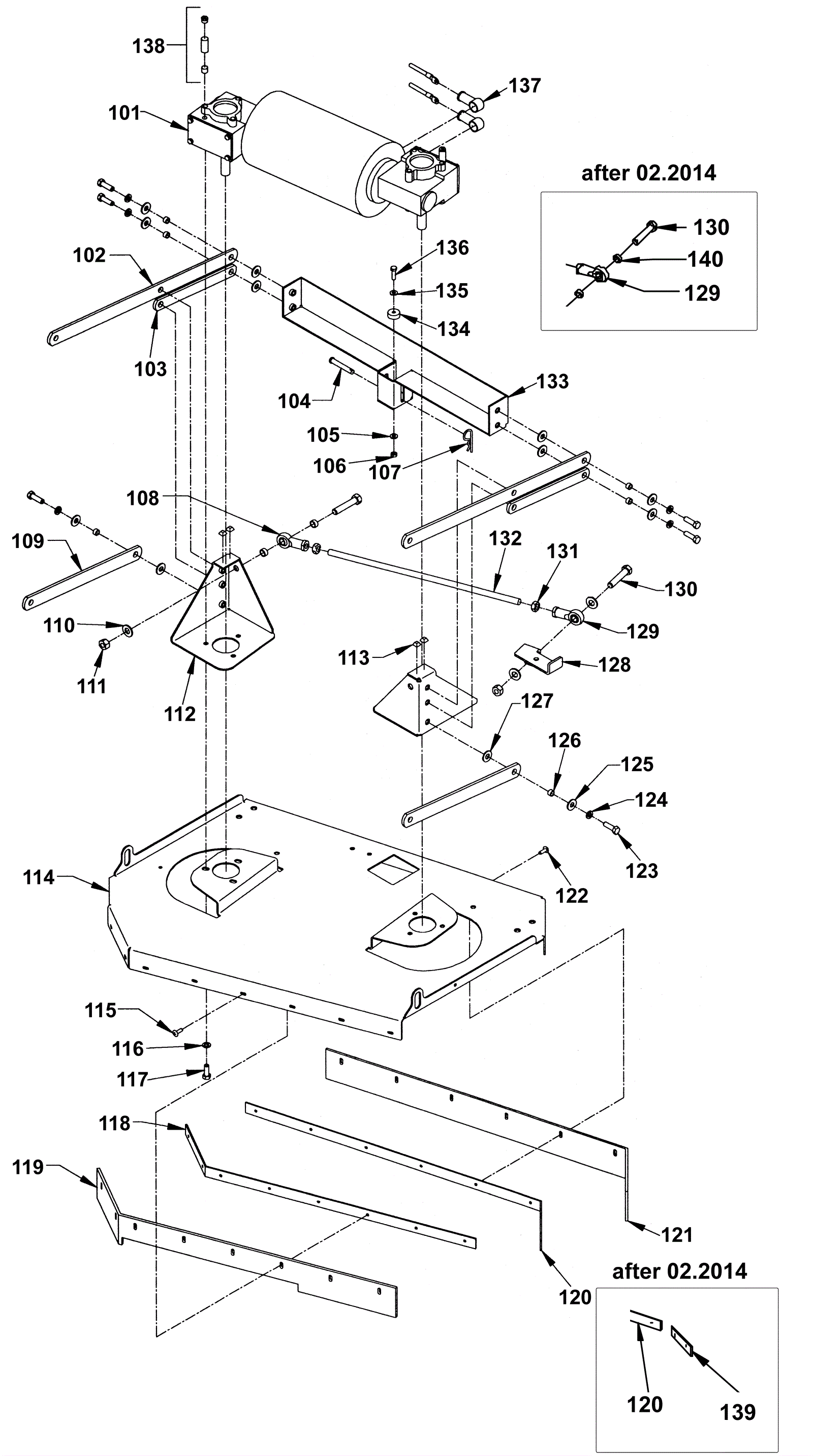
| # | Part | Description | Price | Req | Notes | Availability |
101a |
164-1730
|
36V brush motor assembly |
$3,940.84
|
1 |
(3529) |
ships same day |
101b |
164-9044
|
Brush motor assembly |
$3,997.30
|
1 |
(3329) |
usually ships 19-25 days |
101c |
164-1726
|
Brush motor gear box |
$1,357.05
|
2 |
(2929) |
usually ships 19-25 days |
101d |
164-1560
|
Carbon brush (sold individually) |
$50.64
|
4 |
|
ships same day |
101e |
991-6026
|
Brush motor assembly (OBSOLETE) |
$2,847.15
|
1 |
(3529) (NON-OEM) |
usually ships 1-5 days |
102 |
164-1731
|
Lifting bar |
$83.97
|
2 |
|
usually ships 1-5 days |
103 |
164-1732
|
Front stabilizer bar |
$56.79
|
2 |
|
usually ships 1-5 days |
104 |
164-9023
|
Clevis pin |
$2.89
|
1 |
|
usually ships 19-25 days |
105 |
999-0335
|
Washer 1/4 x 5/8 SAE flat stainless steel |
$0.99
|
1 |
|
ships same day |
106 |
999-0152
|
Nut 1/4-20 nylon insert lock zinc plated |
$0.99
|
1 |
|
ships same day |
107a |
164-0268
|
Cotter ring |
$2.51
|
1 |
(3529) |
usually ships 19-25 days |
107b |
164-1508
|
Cotter hair pin |
$1.67
|
1 |
(3329) |
usually ships 19-25 days |
108 |
164-0238
|
Ball joint |
$59.10
|
1 |
|
usually ships 19-25 days |
109 |
164-1733
|
Rear stabilizer bar |
$64.23
|
2 |
|
usually ships 1-5 days |
110 |
999-0033
|
Washer 7/16 SAE flat |
$0.99
|
3 |
|
ships same day |
111 |
999-0118
|
Nut 1/2-13 nylon insert lock zinc plated |
$0.99
|
2 |
|
ships same day |
112a |
164-1734
|
Brush motor mount |
$148.41
|
2 |
(3529) |
usually ships 1-5 days |
112b |
164-9059
|
Brush motor mount |
$103.59
|
2 |
(3329) |
usually ships 1-5 days |
113 |
164-1728
|
Bumper |
$2.43
|
4 |
|
usually ships 1-5 days |
114a |
164-1710
|
Brush motor plate |
$701.36
|
1 |
(3529) |
usually ships 1-5 days |
114b |
164-9057
|
Brush motor plate |
$509.43
|
1 |
(3329) |
usually ships 1-5 days |
115 |
999-0454
|
Screw 10-24 x 1/2 truss head phillips zinc plated |
$0.99
|
8 |
|
ships same day |
116 |
999-0028
|
Washer 5/16 split lock plain finish |
$0.99
|
6 |
|
ships same day |
117 |
999-0038
|
Bolt 3/8-16 x 1 hex head grade 5 zinc plated |
$1.87
|
6 |
|
ships same day |
118a |
164-1735
|
Rear skirt securing strap |
$94.05
|
1 |
(3529) |
usually ships 19-25 days |
118b |
164-2260
|
Inside splash guard strap |
$39.82
|
1 |
(3329) |
usually ships 19-25 days |
119a |
164-1736
|
Rear rubber skirt |
$103.28
|
1 |
(3529) |
usually ships 19-25 days |
119b |
164-9060
|
Rear skirt |
$131.92
|
1 |
(3329) |
usually ships 19-25 days |
120a |
164-1737
|
Front skirt securing strap |
$82.95
|
1 |
(3529) |
usually ships 19-25 days |
120b |
164-9061
|
Skirt securing strap |
$57.89
|
2 |
(3329) |
usually ships 19-25 days |
121a |
164-1738
|
Front rubber skirt |
$144.44
|
1 |
(3529) |
usually ships 19-25 days |
121b |
164-9062
|
Front skirt |
$135.26
|
1 |
(3329) |
usually ships 19-25 days |
122 |
999-0454
|
Screw 10-24 x 1/2 truss head phillips zinc plated |
$0.99
|
8 |
|
ships same day |
123 |
999-0039
|
Bolt 3/8-16 x 1 1/4 hex head grade 5 zinc plated |
$0.99
|
14 |
|
ships same day |
124 |
999-0034
|
Washer 3/8 split lock plain finish |
$1.82
|
14 |
|
ships same day |
125 |
999-0024
|
Washer 5/16 flat stainless steel |
$1.34
|
14 |
|
ships same day |
126 |
164-0151
|
Spacer |
$3.85
|
14 |
|
usually ships 19-25 days |
127 |
999-0024
|
Washer 5/16 flat stainless steel |
$1.34
|
14 |
|
ships same day |
128 |
164-1739
|
Rod mount |
$35.33
|
1 |
|
usually ships 1-5 days |
129 |
164-1740
|
Ball joint |
$86.64
|
1 |
|
usually ships 1-5 days |
130 |
999-0261
|
Bolt 1/2-13 x 2 hex head grade 5 |
$1.58
|
2 |
|
ships same day |
131 |
999-0134
|
Nut 1/2-20 hex jam plain finish |
$0.99
|
2 |
|
ships same day |
132 |
164-1741
|
Rod |
$39.69
|
1 |
|
usually ships 1-5 days |
133 |
164-1742
|
Front lifting bar |
$373.21
|
1 |
|
usually ships 1-5 days |
134 |
164-1624
|
Spring guide |
$10.52
|
1 |
|
usually ships 1-5 days |
135 |
999-0335
|
Washer 1/4 x 5/8 SAE flat stainless steel |
$0.99
|
1 |
|
ships same day |
136 |
999-0297
|
Bolt 1/4-20 x 1 hex head stainless steel |
$2.53
|
1 |
|
ships same day |
137 |
164-1598
|
Rubber terminal boot |
$24.18
|
2 |
|
usually ships 19-25 days |
138 |
164-1721
|
Brush motor breather assembly |
$46.66
|
2 |
|
usually ships 1-5 days |
139 |
164-1714
|
Inner splash guard strap |
$34.69
|
1 |
(after 02.2014) |
usually ships 19-25 days |
140 |
164-0234
|
Bushing |
$14.05
|
4 |
(after 02.2014) |
ships same day |
N/S |
164-1714
|
Inner splash guard strap |
$34.69
|
1 |
(3329) |
usually ships 19-25 days |