| # | Part | Description | Price | Req | Notes | Availability |
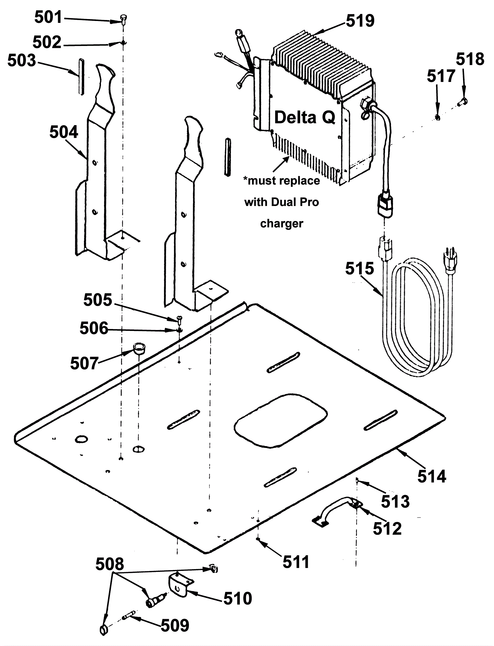
501 |
999-0019
|
Bolt 1/4-20 x 5/8 hex head grade 5 zinc plated |
$0.99
|
4 |
|
ships same day |
502 |
999-0060
|
Washer 1/4 split lock plain finish |
$0.99
|
4 |
|
ships same day |
503 |
164-5029
|
Locking lever |
$79.05
|
2 |
|
usually ships 19-25 days |
504 |
164-9046
|
Onboard charger mount |
$99.77
|
2 |
|
usually ships 1-5 days |
505 |
999-0010
|
Screw 10-24 x 3/8 truss head slotted zinc plated |
$0.99
|
2 |
|
ships same day |
506 |
999-0311
|
Washer #10 external star lock zinc plated |
$0.99
|
2 |
|
ships same day |
507 |
164-1673
|
Snap bushing |
$3.16
|
1 |
|
ships same day |
508 |
164-1328
|
Fuse holder with nut and washer |
$18.41
|
1 |
|
ships same day |
509 |
164-6480
|
4amp fuse |
$4.57
|
1 |
|
ships same day |
510 |
164-9053
|
Mounting bracket |
$58.97
|
1 |
|
usually ships 1-5 days |
511 |
999-0211
|
Nut 5/16-18 hex nylon insert lock zinc plated |
$0.99
|
4 |
|
ships same day |
512 |
164-9047
|
Handle |
$22.52
|
1 |
|
usually ships 1-5 days |
513 |
999-0695
|
Screw 10-24 x 5/8 flat head phillips zinc plated |
$0.99
|
4 |
|
ships same day |
514 |
164-1645
|
Battery cover |
$276.38
|
1 |
|
usually ships 1-5 days |
515a |
164-6477
|
Onboard charger extension cord |
$32.26
|
1 |
|
ships same day |
515b |
164-7292
|
Replacement AC cord and panel assembly (Delta Q) (OBSOLETE) |
$107.75
|
1 |
|
usually ships 1-5 days |
517 |
999-0060
|
Washer 1/4 split lock plain finish |
$0.99
|
4 |
|
ships same day |
518 |
999-0019
|
Bolt 1/4-20 x 5/8 hex head grade 5 zinc plated |
$0.99
|
4 |
|
ships same day |
519a |
164-7965
|
36V onboard charger retro kit (NSS) |
$1,797.07
|
1 |
(NSS) |
usually ships 19-25 days |
519b |
162-9027
|
36V 25amp onboard battery charger (Dual Pro) (AGM/wet) |
$906.57
|
1 |
(Dual Pro) (Does not include green wire. Open the control panel and in the main harness bundle (running up from the trio to the LCD/switches) there should be a black wire taped up (it may be tagged remote/off board charger only). Release that wire and run it up to the E-Stop and attach it into the terminal where the green wire is connected.) |
ships same day |