| # | Part | Description | Price | Req | Notes | Availability |
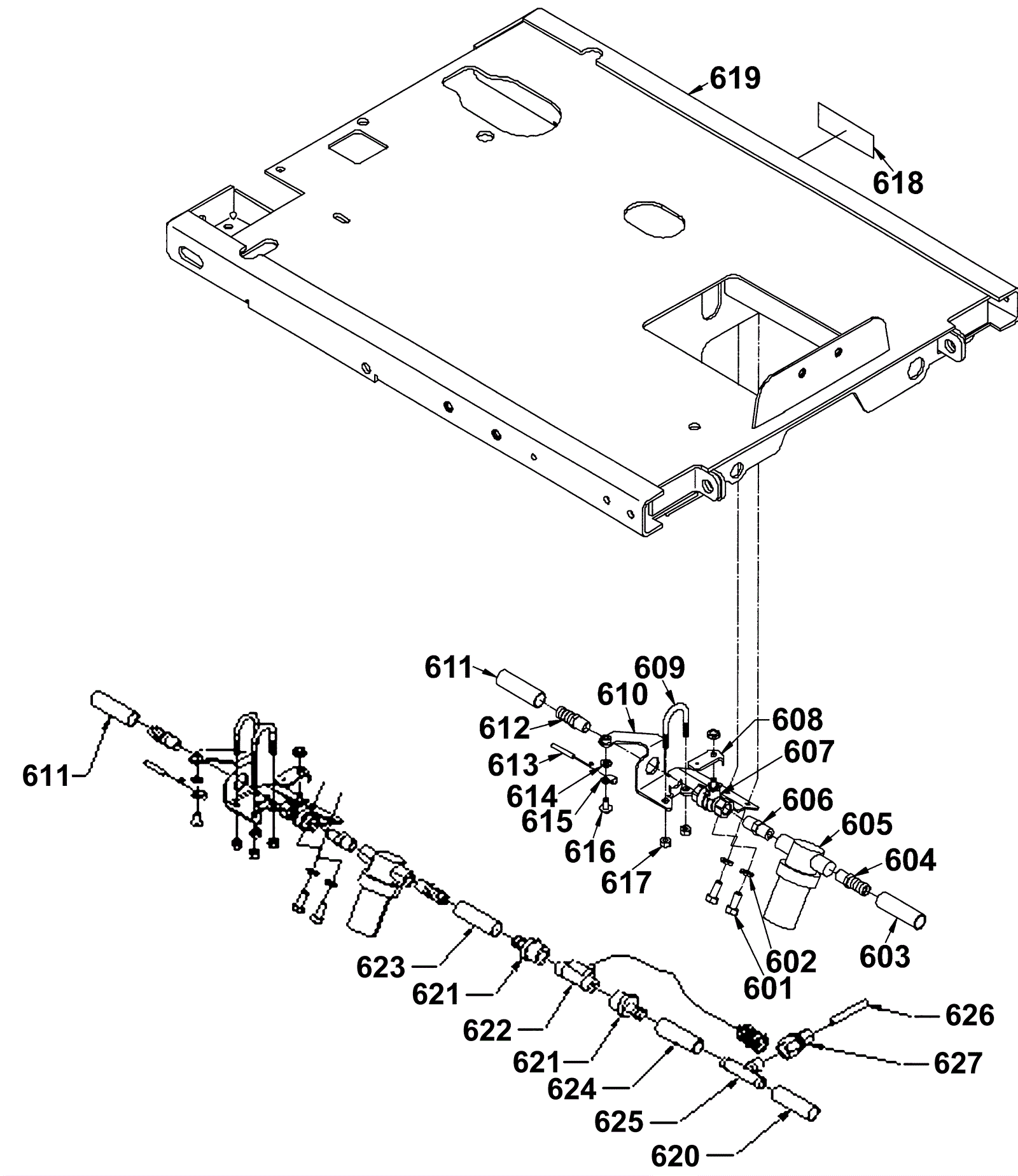
601 |
999-0019
|
Bolt 1/4-20 x 5/8 hex head grade 5 zinc plated |
$0.99
|
2 |
|
ships same day |
602 |
999-0060
|
Washer 1/4 split lock plain finish |
$0.99
|
2 |
|
ships same day |
603 |
991-1405
|
Vinyl tubing 1/2 x 3/4 (sold by the inch) |
$0.44
|
9 in |
|
usually ships 12-16 days |
604 |
164-1330
|
Hose barb |
$4.49
|
1 |
|
ships same day |
605a |
164-9126
|
Inline canister strainer |
$52.18
|
1 |
(includes 605b and 605c) |
ships same day |
605b |
164-9128
|
Strainer element |
$10.33
|
1 |
|
ships same day |
605c |
164-9129
|
Gasket |
$2.43
|
1 |
|
usually ships 19-25 days |
605d |
991-6024
|
Inline canister strainer |
$35.16
|
|
|
usually ships 18-24 days |
606 |
164-4567
|
1/4 inch brass hex nipple |
$8.59
|
1 |
|
ships same day |
607 |
164-1168
|
Solution valve |
$35.08
|
1 |
|
ships same day |
608 |
164-1407
|
Valve lever |
$28.84
|
1 |
|
usually ships 19-25 days |
609 |
164-1520
|
U-bolt |
$15.33
|
1 |
|
ships same day |
610a |
164-8213
|
Solution valve mount |
$55.39
|
1 |
|
usually ships 19-25 days |
610b |
164-9132
|
Solution valve mount kit |
$47.00
|
1 |
Kit includes: 164-1168 Solution valve, 164-1330 Hose barb, 164-8213 Solution valve mount, 164-1407 Solution lever, 999-0015 ¼-20 hex nut with star lock washer (10 Pack), 999-0017 1-4 External star lock washer (pack of 10), 999-0060 ¼ Lock washer (pack of 10), 999-0113 ½-20 x ½ Long truss head machine screw (pack of 5), 164-1520 1-4-20 x 1 x 1 -3/4 u bolt (pack of 1), 164-8214 Solution valve mount instruction sheet. |
usually ships 19-25 days |
611 |
991-1405
|
Vinyl tubing 1/2 x 3/4 (sold by the inch) |
$0.44
|
26 in |
|
usually ships 12-16 days |
612 |
164-1330
|
Hose barb |
$4.49
|
1 |
|
ships same day |
613 |
164-1408
|
Solution lever and cable assembly |
$36.80
|
1 |
|
usually ships 19-25 days |
614 |
999-0017
|
Washer 1/4 external star lock |
$0.99
|
1 |
|
ships same day |
615 |
164-1411
|
P clamp |
$3.16
|
1 |
|
usually ships 19-25 days |
616 |
999-0113
|
Screw 1/4-20 x 1/2 truss head slotted |
$0.99
|
1 |
|
ships same day |
617 |
999-0015
|
Nut 1/4-20 k-lock zinc plated |
$0.99
|
2 |
|
ships same day |
619 |
164-1392
|
Frame |
$725.73
|
1 |
|
usually ships 1-5 days |
620 |
991-1405
|
Vinyl tubing 1/2 x 3/4 (sold by the inch) |
$0.44
|
1 |
|
usually ships 12-16 days |
621 |
164-8127
|
3/8 fpt hose barb |
$12.25
|
2 |
|
usually ships 1-5 days |
622 |
164-8128
|
Flow sensor with connector |
$471.23
|
1 |
|
usually ships 19-25 days |
623 |
991-1405
|
Vinyl tubing 1/2 x 3/4 (sold by the inch) |
$0.44
|
1 |
(cut to .21) |
usually ships 12-16 days |
624 |
991-1405
|
Vinyl tubing 1/2 x 3/4 (sold by the inch) |
$0.44
|
1 |
(cut to .17) |
usually ships 12-16 days |
625 |
164-8129
|
Tee fitting |
$4.87
|
1 |
|
usually ships 1-5 days |
626 |
164-8130
|
25 foot nylon tubing |
$24.31
|
1 |
|
usually ships 1-5 days |
627 |
164-8131
|
Fitting |
$6.41
|
1 |
|
usually ships 1-5 days |
N/A |
164-3312
|
Canister filter kit |
$129.18
|
1 |
|
usually ships 19-25 days |