| # | Part | Description | Price | Req | Notes | Availability |
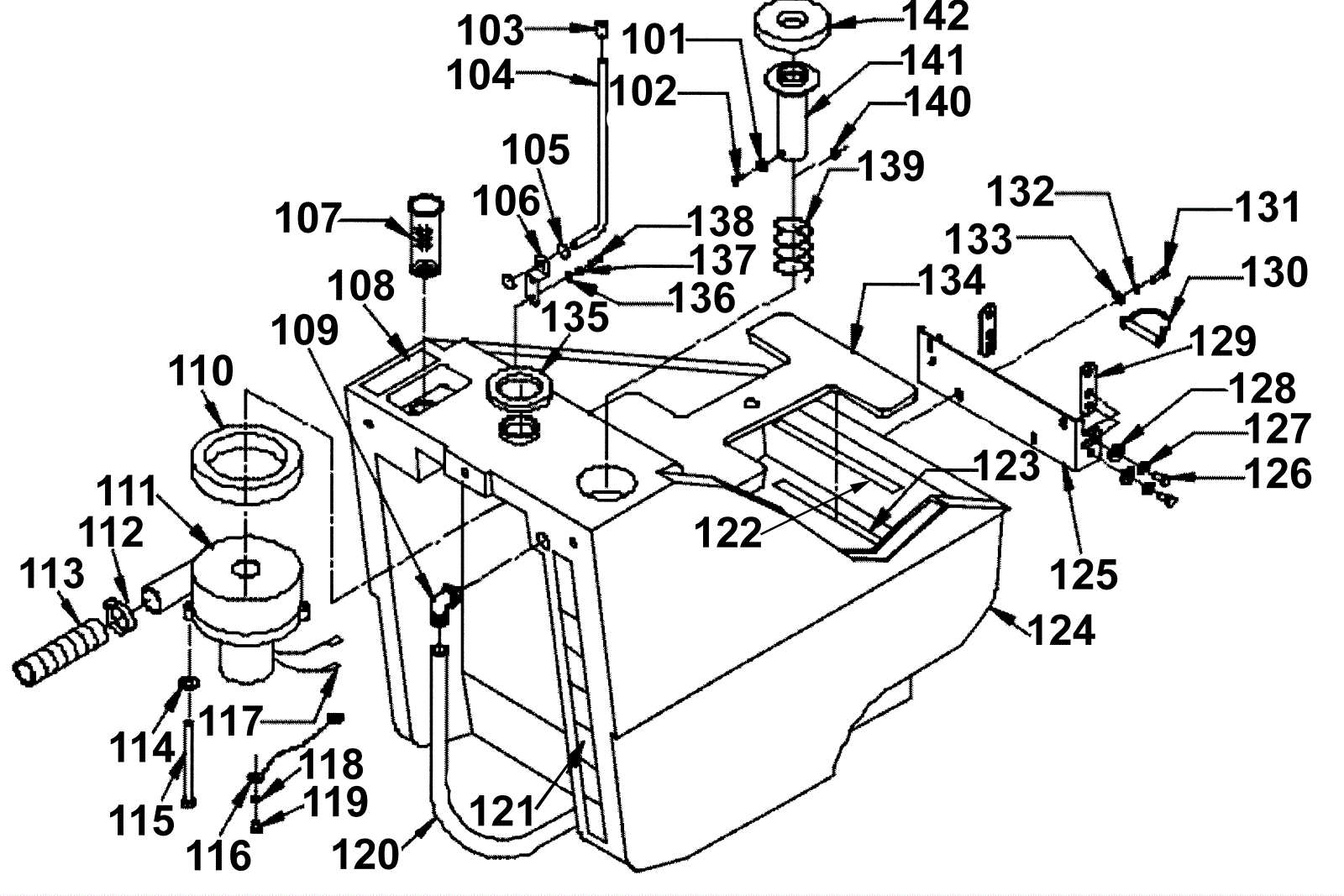
101 |
999-0053
|
Washer #10 split lock plain finish |
$0.99
|
1 |
|
ships same day |
102 |
999-0645
|
Screw 10-24 x 3/8 round head phillips stainless steel |
$0.99
|
1 |
|
ships same day |
103 |
164-5044
|
Solution feed tube cap |
$2.51
|
1 |
|
usually ships 1-5 days |
104 |
164-2377
|
Plated Wrangler 20 hood rod (OBSOLETE) |
$14.74
|
1 |
|
usually ships 1-5 days |
105 |
164-0268
|
Cotter ring |
$2.51
|
2 |
|
usually ships 19-25 days |
106 |
164-2378
|
Plated Wrngler 20 rod bracket (OBSOLETE) |
$11.11
|
1 |
|
usually ships 1-5 days |
107a |
164-0557
|
Solution tank filter (OBSOLETE) |
$23.10
|
1 |
|
usually ships 19-25 days |
107b |
164-0557
|
Solution tank filter (OBSOLETE) |
$23.10
|
1 |
|
usually ships 19-25 days |
107c |
164-0617
|
90 degree hose barb |
$18.54
|
1 |
|
usually ships 19-25 days |
108 |
164-9108
|
Color decal kit (OBSOLETE) |
$24.97
|
1 |
|
usually ships 1-5 days |
109 |
164-0407
|
90 degree hose barb |
$9.56
|
1 |
|
usually ships 19-25 days |
110 |
164-0803
|
Vac motor/float gasket |
$7.38
|
1 |
|
ships same day |
111a |
164-2353
|
Vacuum motor |
$261.75
|
1 |
|
ships same day |
111b |
164-2420
|
Carbon brush 120V |
$21.87
|
2 |
|
usually ships 1-5 days |
111c |
N/A
|
Not available |
Call for price
|
1 |
|
usually ships 3-26 days |
111d |
164-3972
|
Vac motor carbon brush |
$22.39
|
2 |
|
usually ships 1-5 days |
112 |
997-2003
|
Hose clamp |
$2.66
|
1 |
|
ships same day |
113 |
164-2015
|
Vacuum motor exhaust filter |
$13.16
|
1 |
|
usually ships 19-25 days |
114 |
999-0060
|
Washer 1/4 split lock plain finish |
$0.99
|
3 |
|
ships same day |
115 |
999-0683
|
Bolt 1/4-20 x 3 hex head grade 5 zinc plated |
$1.05
|
3 |
|
ships same day |
116 |
164-4648
|
Green wire |
$3.03
|
1 |
|
usually ships 1-5 days |
117 |
164-0553
|
Male push on coupler |
$3.20
|
2 |
|
ships same day |
118 |
999-0053
|
Washer #10 split lock plain finish |
$0.99
|
1 |
|
ships same day |
119 |
999-0663
|
Screw 10-24 x 3/8 pan head phillips thread cutting |
$0.99
|
1 |
|
ships same day |
120 |
164-1322
|
Vinyl hose 3/4 x 33 length |
$30.00
|
1 |
|
ships same day |
121 |
164-9108
|
Color decal kit (OBSOLETE) |
$24.97
|
1 |
|
usually ships 1-5 days |
122 |
992-0002
|
Velcro hook (sold by the inch) |
$7.84
|
1 |
|
ships same day |
123 |
992-0001
|
Velcro loop (sold by the inch) |
$0.75
|
1 |
|
usually ships 12-15 days |
124 |
164-1116
|
Solution tank 24wr (OBSOLETE) |
$838.70
|
1 |
|
usually ships 1-5 days |
125a |
164-9076
|
Lower hinge bracket (OBSOLETE) |
$27.67
|
1 |
|
usually ships 1-5 days |
125b |
164-2379
|
Lower hinge assy. w/ bolts & wash |
$94.60
|
1 |
|
usually ships 1-5 days |
126 |
999-0019
|
Bolt 1/4-20 x 5/8 hex head grade 5 zinc plated |
$0.99
|
4 |
|
ships same day |
127 |
999-0060
|
Washer 1/4 split lock plain finish |
$0.99
|
4 |
|
ships same day |
128 |
999-0123
|
Washer 1/4 SAE flat zinc plated |
$0.99
|
4 |
|
ships same day |
129 |
164-2473
|
Painted adjustment plate |
$26.41
|
2 |
|
usually ships 1-5 days |
130 |
164-0823
|
Clevis pin with retainer |
$11.67
|
2 |
|
ships same day |
131 |
999-1103
|
Bolt 1/4-20 x 3/4 hex head with nylon patch |
$4.94
|
4 |
|
ships same day |
132 |
999-0060
|
Washer 1/4 split lock plain finish |
$0.99
|
4 |
|
ships same day |
133 |
999-0123
|
Washer 1/4 SAE flat zinc plated |
$0.99
|
4 |
|
ships same day |
134 |
164-2387
|
Painted cast iron wght |
$490.55
|
1 |
|
usually ships 1-5 days |
135 |
164-4585
|
Neoprene motor seal |
$8.03
|
1 |
|
usually ships 19-25 days |
136 |
999-0123
|
Washer 1/4 SAE flat zinc plated |
$0.99
|
2 |
|
ships same day |
137 |
999-0060
|
Washer 1/4 split lock plain finish |
$0.99
|
2 |
|
ships same day |
138 |
999-0018
|
Bolt 1/4-20 x 1/2 hex cap grade 5 zinc plated |
$0.99
|
2 |
|
ships same day |
139 |
164-0408
|
Spring |
$24.31
|
1 |
|
usually ships 19-25 days |
140 |
999-0004
|
Nut 10-24 k-lock zinc plated |
$0.99
|
1 |
|
ships same day |
141 |
164-0409
|
Tube adaptor |
$68.79
|
1 |
|
usually ships 19-25 days |
142 |
164-1181
|
Tube adapter gasket Wrangler 20 |
$8.59
|
1 |
|
ships same day |