| # | Part | Description | Price | Req | Notes | Availability |
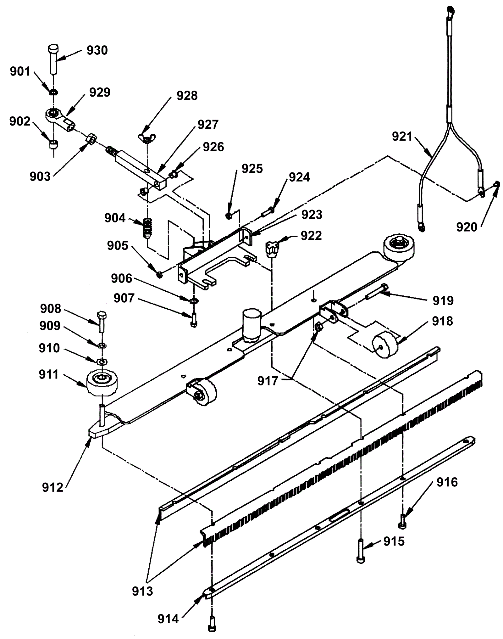
901 |
164-6007
|
Spacer |
$2.70
|
1 |
|
usually ships 19-25 days |
902 |
164-0234
|
Bushing |
$14.05
|
1 |
|
ships same day |
903 |
999-0134
|
Nut 1/2-20 hex jam plain finish |
$0.99
|
1 |
|
ships same day |
904 |
164-0856
|
Height adjustment spring |
$7.82
|
1 |
|
usually ships 19-25 days |
905 |
999-0188
|
Nut 3/8-16 nylon insert lock zinc plated |
$0.99
|
1 |
|
ships same day |
906 |
999-0028
|
Washer 5/16 split lock plain finish |
$0.99
|
1 |
|
ships same day |
907 |
999-0283
|
Bolt 5/16-18 x 2 1/4 hex head grade 5 zinc plated |
$0.99
|
1 |
|
ships same day |
908 |
999-0029
|
Bolt 5/16-18 x 1/2 hex head plain finish |
$0.99
|
2 |
|
ships same day |
909 |
999-0105
|
Washer 5/16 external star lock zinc plated |
$0.99
|
2 |
|
ships same day |
910 |
999-0024
|
Washer 5/16 flat stainless steel |
$1.34
|
2 |
|
ships same day |
911 |
164-2319
|
Power supply cord - Bandit B/V (OBSOLETE) |
$54.18
|
2 |
|
usually ships 1-5 days |
912a |
164-0243
|
Squeegee weldment (narrow mount) |
$473.02
|
1 |
|
usually ships 19-25 days |
912b |
164-0247
|
Squeegee assembly (narrow mount) |
$1,103.66
|
1 |
|
ships same day |
913a |
164-0041
|
Squeegee blade 32 inch linatex kit (red) (front and rear) |
$297.92
|
1 |
|
usually ships 19-25 days |
913b |
164-8029
|
Onboard charger mounting bracket |
$17.18
|
1 |
|
usually ships 19-25 days |
914 |
164-0250
|
Inner channel for Wrangler 26 and 2625 |
$85.21
|
1 |
|
usually ships 19-25 days |
915 |
999-0179
|
Screw 5/16-18 x 1 1/2 socket head alloy plain finish |
$0.99
|
2 |
|
ships same day |
916 |
999-0130
|
Screw 5/16-18 x 3/4 socket head alloy plain finish |
$0.99
|
4 |
|
ships same day |
917 |
999-0211
|
Nut 5/16-18 hex nylon insert lock zinc plated |
$0.99
|
2 |
|
ships same day |
918 |
991-2005
|
Small roller wheel (gray) |
$4.97
|
2 |
|
usually ships 14-20 days |
919 |
999-0108
|
Bolt 5/16-18 x 1 3/4 hex head grade 5 zinc plated |
$0.99
|
2 |
|
ships same day |
920 |
999-0081
|
Screw 1/4-20 x 5/8 pan head slotted zinc |
$0.99
|
2 |
|
ships same day |
921 |
164-2012
|
Squeegee cable |
$43.15
|
1 |
|
usually ships 19-25 days |
922 |
164-1565
|
Knob |
$25.47
|
2 |
|
ships same day |
923 |
164-2138
|
Squeegee bracket plated |
$151.49
|
1 |
|
ships same day |
924 |
999-0107
|
Bolt 3/8-16 x 2 hex head grade 5 zinc plated |
$1.19
|
2 |
|
ships same day |
925 |
999-0152
|
Nut 1/4-20 nylon insert lock zinc plated |
$0.99
|
2 |
|
ships same day |
926 |
164-0858
|
Flanged bushing |
$3.72
|
2 |
|
ships same day |
927 |
164-0859
|
Squeegee shaft |
$39.36
|
1 |
|
ships same day |
928 |
999-1681
|
Nut 5/16-18 wing nylock |
$9.68
|
1 |
|
usually ships 16-20 days |
929 |
164-0238
|
Ball joint |
$59.10
|
1 |
|
usually ships 19-25 days |
930 |
999-0200
|
Bolt 1/2-13 x 1 1/4 hex head |
$3.45
|
1 |
|
ships same day |