| # | Part | Description | Price | Req | Notes | Availability |
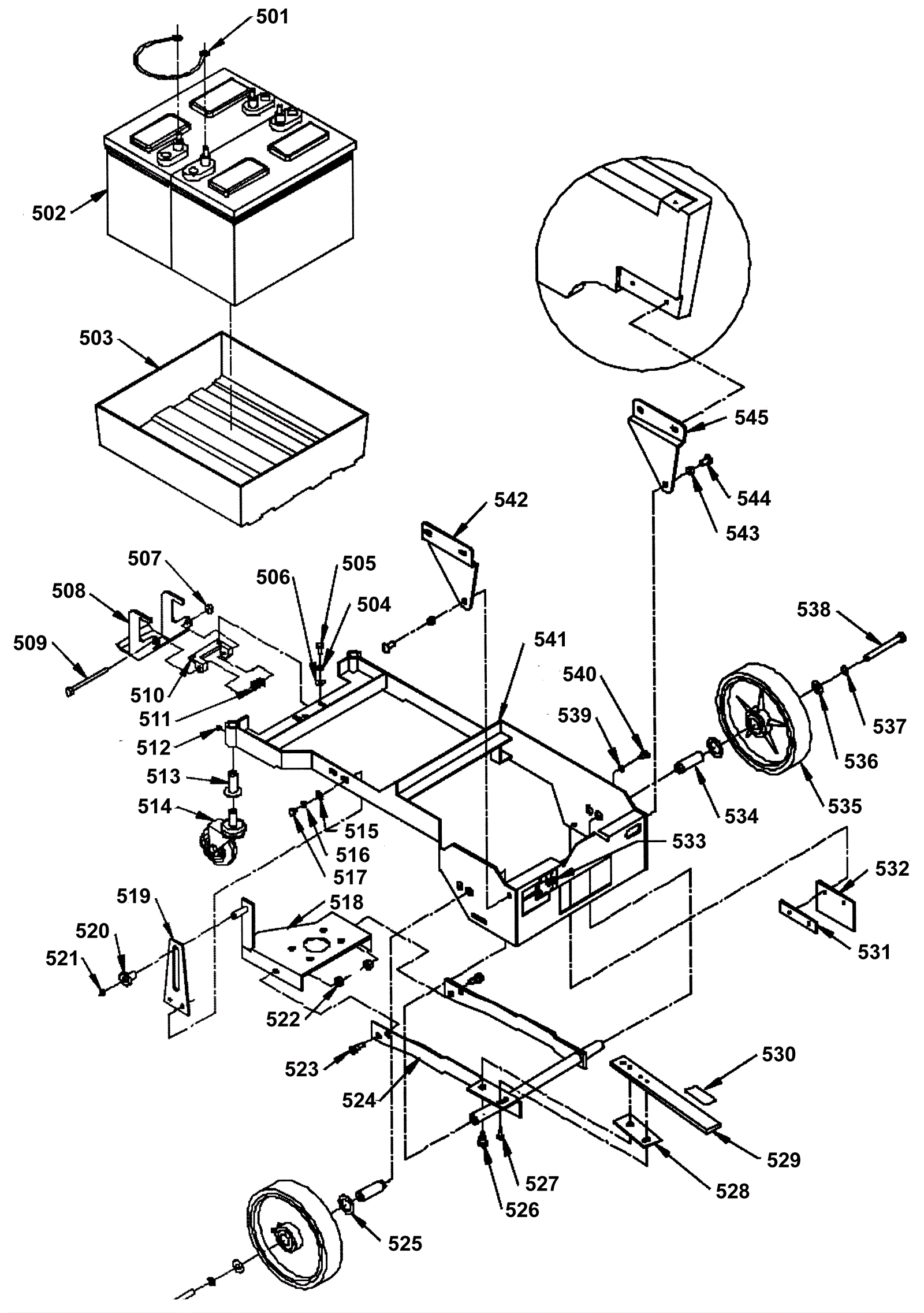
501 |
164-2282
|
Battery jumper |
$5.64
|
1 |
|
usually ships 19-25 days |
503 |
164-2140
|
Battery tray |
$66.29
|
1 |
|
usually ships 19-25 days |
505 |
999-0019
|
Bolt 1/4-20 x 5/8 hex head grade 5 zinc plated |
$0.99
|
2 |
|
ships same day |
506 |
999-0123
|
Washer 1/4 SAE flat zinc plated |
$0.99
|
2 |
|
ships same day |
507 |
999-0152
|
Nut 1/4-20 nylon insert lock zinc plated |
$0.99
|
1 |
|
ships same day |
508 |
164-2251
|
Foot pedal |
$104.49
|
1 |
|
ships same day |
509 |
999-0165
|
Bolt 1/4-20 x 4 hex head grade 5 zinc plated |
$1.39
|
1 |
|
ships same day |
510 |
164-2254
|
Foot pedal tank release bracket |
$90.46
|
1 |
|
ships same day |
511 |
164-2253
|
Foot pedal tank release spring |
$12.25
|
1 |
|
usually ships 19-25 days |
512 |
999-0008
|
Screw 10-24 x 5/8 round head slotted zinc plated |
$0.99
|
2 |
|
ships same day |
513 |
164-2215
|
Plastic socket insert |
$4.95
|
2 |
|
usually ships 19-25 days |
514a |
164-2213
|
Caster - 7/16 x 1 3/4 stem |
$71.36
|
2 |
|
ships same day |
514b |
164-2214
|
Caster with insert |
$81.41
|
2 |
|
usually ships 19-25 days |
515 |
999-0024
|
Washer 5/16 flat stainless steel |
$1.34
|
2 |
|
ships same day |
516 |
999-0028
|
Washer 5/16 split lock plain finish |
$0.99
|
2 |
|
ships same day |
517 |
999-0029
|
Bolt 5/16-18 x 1/2 hex head plain finish |
$0.99
|
2 |
|
ships same day |
518 |
164-2228
|
Brush motor tilt base |
$131.10
|
1 |
|
usually ships 19-25 days |
519 |
164-2239
|
Brush motor guide bracket |
$46.93
|
1 |
|
usually ships 19-25 days |
520 |
164-2190
|
3/8 nylon bushing |
$24.95
|
1 |
|
usually ships 19-25 days |
521 |
164-1490
|
3/8 retaining ring |
$2.51
|
1 |
|
usually ships 19-25 days |
522 |
164-6778
|
Nut 5/16-18 thin hex with nylon insert (pkg of 5) |
$7.38
|
2 |
|
usually ships 19-25 days |
523 |
164-1458
|
Bolt 5/16-18 x 3/8 long socket head |
$11.67
|
2 |
|
usually ships 19-25 days |
524 |
164-2229
|
Brush lift arm |
$210.33
|
1 |
|
usually ships 19-25 days |
525 |
999-0863
|
Washer 3/4 x 14 gauge narrow bushing |
$0.99
|
2 |
|
ships same day |
526 |
164-1458
|
Bolt 5/16-18 x 3/8 long socket head |
$11.67
|
1 |
|
usually ships 19-25 days |
527 |
164-9066
|
Bolt 1/4 x 3/8 10-24 socket head shoulder |
$10.77
|
1 |
|
usually ships 19-25 days |
528 |
164-2194
|
Foot pedal slide |
$9.11
|
1 |
|
usually ships 19-25 days |
529 |
164-2230
|
Brush lift foot pedal |
$45.10
|
1 |
|
usually ships 19-25 days |
530 |
164-1668
|
Pedal pad |
$5.59
|
1 |
|
usually ships 19-25 days |
531 |
164-2260
|
Inside splash guard strap |
$39.82
|
1 |
|
usually ships 19-25 days |
532 |
164-2261
|
Inside splash guard (OBSOLETE) |
$5.28
|
1 |
|
usually ships 1-5 days |
533 |
164-2286
|
Wrangler 1708 / 2008 label kit |
$115.08
|
1 |
|
usually ships 1-5 days |
534 |
164-2225
|
Axle |
$17.38
|
2 |
|
usually ships 19-25 days |
535a |
164-0029
|
8 inch wheel with bearings |
$327.82
|
2 |
|
ships same day |
535b |
991-9191
|
8"x1 5/8" RUBBER WHEEL W/3/4 BRGS |
$69.49
|
2 |
(NON-OEM) |
usually ships 18-24 days |
536 |
999-0033
|
Washer 7/16 SAE flat |
$0.99
|
2 |
|
ships same day |
537 |
999-0034
|
Washer 3/8 split lock plain finish |
$1.82
|
2 |
|
ships same day |
538 |
164-9067
|
Bolt 3/8 - 16 x 3 1/2 hex |
$7.38
|
2 |
|
usually ships 19-25 days |
539 |
999-0053
|
Washer #10 split lock plain finish |
$0.99
|
2 |
|
ships same day |
540 |
999-0008
|
Screw 10-24 x 5/8 round head slotted zinc plated |
$0.99
|
2 |
|
ships same day |
541 |
164-2226
|
Main frame |
$503.42
|
1 |
|
usually ships 1-5 days |
542 |
164-2231
|
Left tank pivot bracket |
$64.75
|
2 |
|
usually ships 19-25 days |
543 |
164-4626
|
Bushing |
$4.18
|
2 |
|
ships same day |
544 |
164-6790
|
Screw 3/8-16 x 3/4 button head socket |
$7.38
|
2 |
|
usually ships 19-25 days |
545 |
164-2232
|
Right tank pivot bracket |
$64.75
|
1 |
|
usually ships 19-25 days |