| # | Part | Description | Price | Req | Notes | Availability |
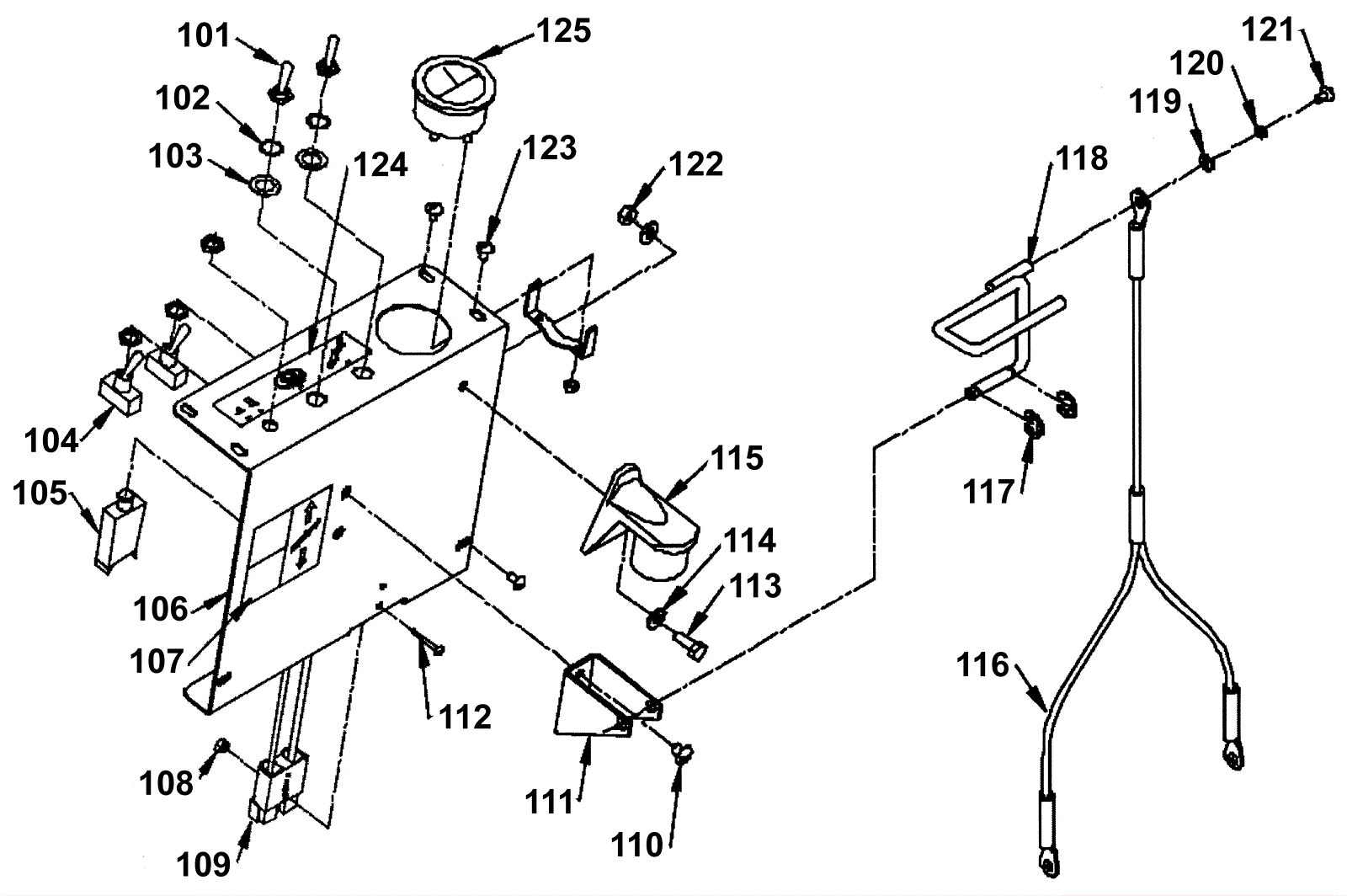
101 |
164-0287
|
Rubber switch boot |
$11.36
|
2 |
|
ships same day |
102 |
999-0260
|
Washer 1/2 internal starlock |
$0.99
|
2 |
|
ships same day |
103 |
999-0024
|
Washer 5/16 flat stainless steel |
$1.34
|
2 |
|
ships same day |
104 |
164-0290
|
Toggle switch |
$14.63
|
2 |
|
ships same day |
105 |
164-2258
|
45 amp circuit breaker |
$157.00
|
1 |
|
usually ships 19-25 days |
106 |
164-2221
|
Painted control panel (OBSOLETE) |
$54.23
|
1 |
|
usually ships 1-5 days |
107 |
164-2286
|
Wrangler 1708 / 2008 label kit |
$115.08
|
1 |
|
usually ships 1-5 days |
108 |
999-0195
|
Nut 6-32 hex plain |
$0.99
|
2 |
|
ships same day |
109 |
164-2279
|
Wire assy - anderson to meter |
$60.34
|
1 |
|
usually ships 1-5 days |
110 |
999-0135
|
Screw 1/4-20 x 3/8 truss head slotted zinc |
$0.99
|
2 |
|
ships same day |
111 |
164-2247
|
Squeegee lift bracket |
$49.74
|
1 |
|
usually ships 1-5 days |
112 |
999-0102
|
Screw 6-32 x 1 round head slotted zinc plated |
$0.99
|
2 |
|
ships same day |
113 |
999-1103
|
Bolt 1/4-20 x 3/4 hex head with nylon patch |
$4.94
|
1 |
|
ships same day |
114 |
999-0123
|
Washer 1/4 SAE flat zinc plated |
$0.99
|
2 |
|
ships same day |
115 |
164-4519
|
Drain hose plug |
$47.00
|
1 |
|
usually ships 19-25 days |
116 |
164-2012
|
Squeegee cable |
$43.15
|
1 |
|
usually ships 19-25 days |
117 |
164-1584
|
5/16 E ring |
$2.82
|
2 |
|
usually ships 19-25 days |
119 |
999-0006
|
Washer 3/16 flat zinc plated |
$0.99
|
1 |
|
ships same day |
120 |
999-0053
|
Washer #10 split lock plain finish |
$0.99
|
1 |
|
ships same day |
121 |
999-0645
|
Screw 10-24 x 3/8 round head phillips stainless steel |
$0.99
|
1 |
|
ships same day |
122 |
999-0152
|
Nut 1/4-20 nylon insert lock zinc plated |
$0.99
|
1 |
|
ships same day |
123 |
999-0543
|
Screw 10-32 x 3/8 truss head phillips zinc plated |
$0.99
|
6 |
|
ships same day |
124 |
164-2286
|
Wrangler 1708 / 2008 label kit |
$115.08
|
1 |
|
usually ships 1-5 days |
125 |
164-0889
|
Battery meter |
$157.51
|
1 |
|
usually ships 19-25 days |