| # | Part | Description | Price | Req | Notes | Availability |
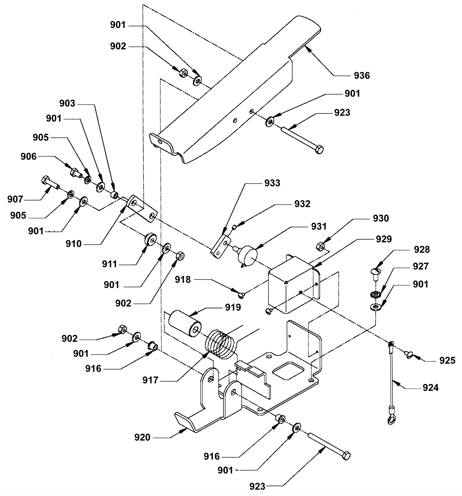
901 |
999-0016
|
Washer 1/4 flat plain finish |
$0.99
|
11 |
|
ships same day |
902 |
999-0152
|
Nut 1/4-20 nylon insert lock zinc plated |
$0.99
|
3 |
|
ships same day |
903 |
164-0136
|
Bushing |
$3.20
|
1 |
|
ships same day |
905 |
999-0060
|
Washer 1/4 split lock plain finish |
$0.99
|
2 |
|
ships same day |
906 |
999-0019
|
Bolt 1/4-20 x 5/8 hex head grade 5 zinc plated |
$0.99
|
1 |
|
ships same day |
907 |
999-0039
|
Bolt 3/8-16 x 1 1/4 hex head grade 5 zinc plated |
$0.99
|
1 |
|
ships same day |
910 |
164-1688
|
Pedal arm |
$19.23
|
1 |
|
usually ships 19-25 days |
911 |
164-0161
|
Skirt latch pin |
$7.26
|
1 |
|
usually ships 19-25 days |
916 |
164-1689
|
Flanged bushing |
$7.38
|
2 |
|
usually ships 19-25 days |
917 |
164-1690
|
Torsion spring |
$30.07
|
1 |
|
usually ships 19-25 days |
918 |
999-0879
|
Screw 8-32 x 1/4 truss head slotted stainless steel |
$0.99
|
2 |
|
ships same day |
919 |
164-1615
|
Guide roller |
$11.36
|
1 |
|
usually ships 19-25 days |
920 |
164-1691
|
Pivot bracket |
$171.74
|
1 |
|
usually ships 1-5 days |
923 |
999-0683
|
Bolt 1/4-20 x 3 hex head grade 5 zinc plated |
$1.05
|
2 |
|
ships same day |
924 |
164-1658
|
Ground wire |
$54.95
|
1 |
|
usually ships 1-5 days |
925 |
999-0010
|
Screw 10-24 x 3/8 truss head slotted zinc plated |
$0.99
|
1 |
|
ships same day |
927 |
999-0017
|
Washer 1/4 external star lock |
$0.99
|
4 |
|
ships same day |
928 |
999-0567
|
Screw 1/4-20 x 5/8 pan head phillips stainless steel |
$0.99
|
1 |
|
ships same day |
929 |
164-1692
|
Potentiometer cover |
$85.84
|
1 |
|
usually ships 1-5 days |
930 |
999-0211
|
Nut 5/16-18 hex nylon insert lock zinc plated |
$0.99
|
1 |
|
ships same day |
931 |
172-2039
|
5K potentiometer |
$66.03
|
1 |
|
ships same day |
932 |
999-0431
|
Screw 8-32 x 1/4 set socket cup point alloy plain finish |
$0.99
|
1 |
|
ships same day |
933 |
164-1693
|
Arm |
$48.33
|
1 |
|
usually ships 19-25 days |
936 |
164-1694
|
Accelerator pedal |
$146.16
|
1 |
|
usually ships 1-5 days |