| # | Part | Description | Price | Req | Notes | Availability |
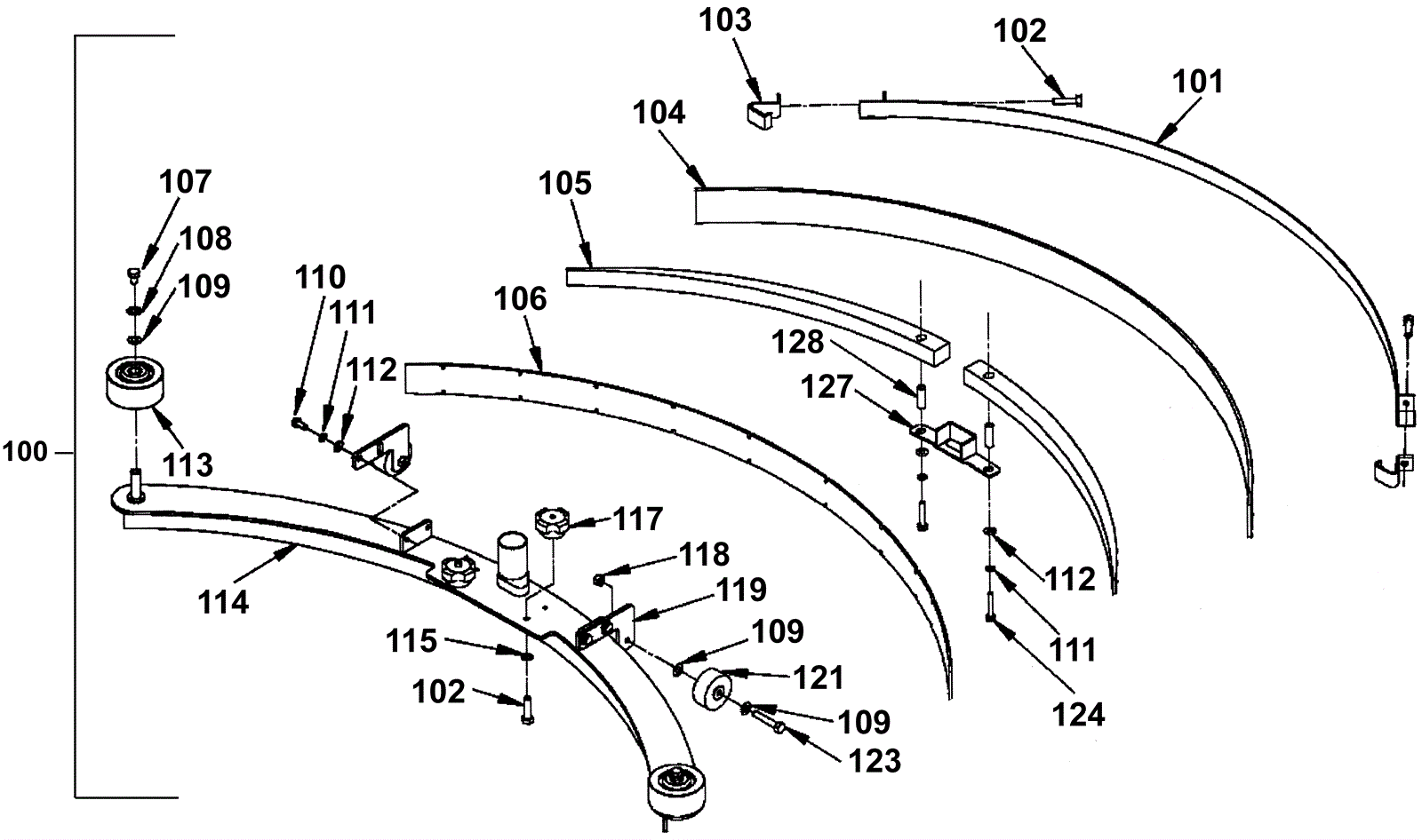
100a |
164-1594
|
Curved squeegee assembly |
$1,240.21
|
1 |
(Champ ZS35 and 3529) |
usually ships 19-25 days |
100b |
164-1590
|
Curved squeegee assembly |
$971.66
|
1 |
(Champ ZS29) |
usually ships 19-25 days |
101a |
164-1124
|
Rear securing strap |
$170.72
|
1 |
(Champ ZS35 and 3529) |
usually ships 19-25 days |
101b |
164-1591
|
Rear securing strap |
$121.41
|
1 |
(Champ ZS29) |
usually ships 1-5 days |
102 |
999-0639
|
Bolt 5/16-18 x 1 1/4 hex hd full thread grade 5 zinc plated |
$1.82
|
4 |
|
ships same day |
103 |
164-1125
|
End hook |
$37.90
|
2 |
|
ships same day |
104a |
994-0011
|
Squeegee blade 46 3/4 inch gum rubber rear (red) |
$47.51
|
1 |
(Champ ZS35 and 3529) (OEM no longer available) |
usually ships 18-24 days |
104b |
164-1127
|
Squeegee blade 46 inch curved gum rubber rear (tan) |
$21.27
|
1 |
(Champ ZS35 and 3529) (OEM) |
ships same day |
104c |
164-1127
|
Squeegee blade 46 inch curved gum rubber rear (tan) |
$21.27
|
1 |
(Champ ZS35 and 3529) (NON-OEM) |
ships same day |
104d |
164-1186
|
Squeegee blade 33 inch curved rear gum rubber (tan) |
$34.62
|
1 |
(Champ ZS29) |
usually ships 19-25 days |
105a |
164-1129
|
Wedge |
$92.00
|
2 |
(Champ ZS35 and 3529) |
usually ships 19-25 days |
105b |
164-1592
|
Wedge |
$59.43
|
2 |
(Champ ZS29) |
usually ships 1-5 days |
106a |
164-1131
|
Squeegee blade 44 1/2 inch curved neoprene front (black) |
$43.15
|
1 |
(Champ ZS35 and 3529) (OEM) |
ships same day |
106b |
994-0117
|
Squeegee blade 44 1/2 inch curved gum rubber front (red) |
$26.40
|
1 |
(Champ ZS35 and 3529) (NON-OEM) |
usually ships 25-31 days |
106c |
994-0010
|
Squeegee blade 44 3/8 inch curved neoprene front (black) |
$20.54
|
1 |
(Champ ZS35 and 3529) (NON-OEM) |
ships same day |
106d |
164-1187
|
Squeegee blade 33 inch curved front gum rubber (tan) |
$27.26
|
1 |
(Champ ZS29) |
usually ships 19-25 days |
107 |
999-0029
|
Bolt 5/16-18 x 1/2 hex head plain finish |
$0.99
|
2 |
|
ships same day |
108 |
999-0105
|
Washer 5/16 external star lock zinc plated |
$0.99
|
2 |
|
ships same day |
109 |
999-0024
|
Washer 5/16 flat stainless steel |
$1.34
|
6 |
|
ships same day |
110 |
999-0019
|
Bolt 1/4-20 x 5/8 hex head grade 5 zinc plated |
$0.99
|
4 |
|
ships same day |
111 |
999-0060
|
Washer 1/4 split lock plain finish |
$0.99
|
6 |
|
ships same day |
112 |
999-0016
|
Washer 1/4 flat plain finish |
$0.99
|
6 |
|
ships same day |
113 |
991-2009
|
3 inch bumper wheel |
$9.39
|
2 |
|
usually ships 19-25 days |
114a |
164-1596
|
Curved squeegee weldment |
$506.15
|
1 |
(Champ ZS35 and 3529) |
usually ships 1-5 days |
114b |
164-1590
|
Curved squeegee assembly |
$971.66
|
1 |
(Champ ZS29) |
usually ships 19-25 days |
115 |
999-0028
|
Washer 5/16 split lock plain finish |
$0.99
|
2 |
|
ships same day |
117 |
164-1565
|
Knob |
$25.47
|
2 |
|
ships same day |
118 |
999-0211
|
Nut 5/16-18 hex nylon insert lock zinc plated |
$0.99
|
2 |
|
ships same day |
119 |
164-1137
|
Dolly wheel mounting bracket |
$29.11
|
2 |
|
usually ships 19-25 days |
121 |
991-2005
|
Small roller wheel (gray) |
$4.97
|
2 |
|
usually ships 14-20 days |
123 |
999-0108
|
Bolt 5/16-18 x 1 3/4 hex head grade 5 zinc plated |
$0.99
|
2 |
|
ships same day |
124 |
999-0344
|
Bolt 1/4-20 x 1 1/2 hex head plain finish |
$0.99
|
2 |
|
ships same day |
127 |
164-1138
|
Wedge bracket |
$81.87
|
1 |
|
usually ships 19-25 days |
128 |
164-1139
|
Spacer |
$8.28
|
2 |
|
usually ships 19-25 days |