| # | Part | Description | Price | Req | Notes | Availability |
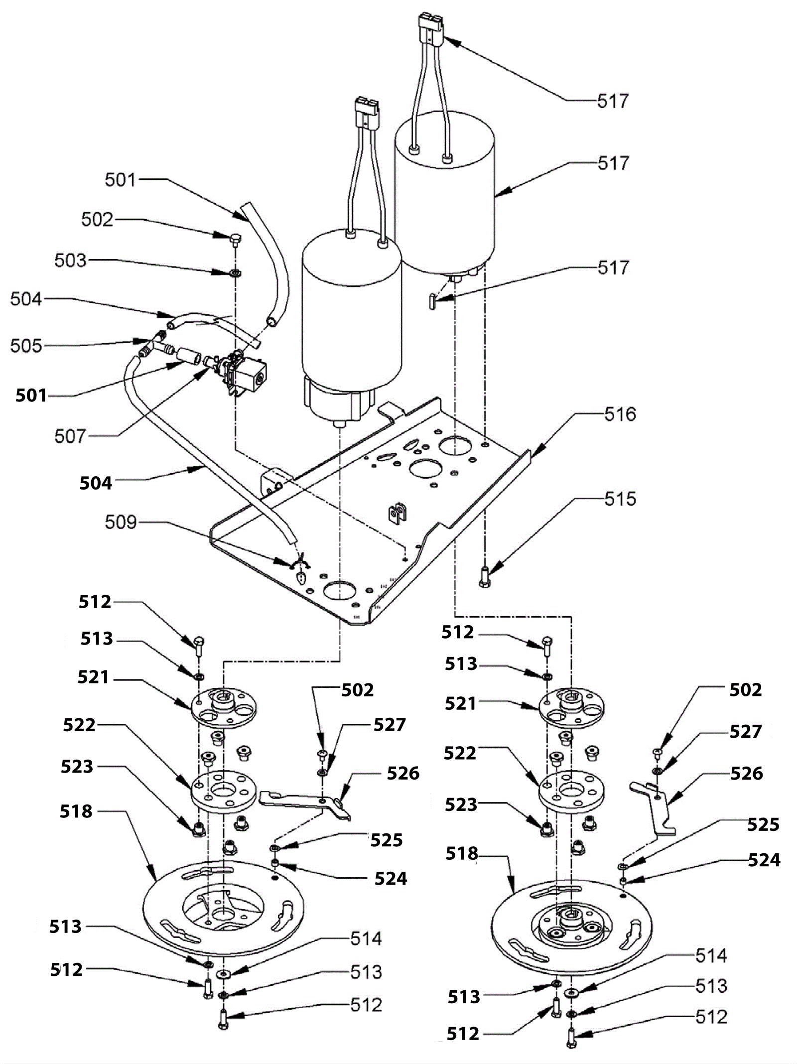
501 |
991-1405
|
Vinyl tubing 1/2 x 3/4 (sold by the inch) |
$0.44
|
5 |
(26in for 2730db and 3330db) (4in for 2730db and 3330db) (2in for 2730 and 3330) (17in for sidekick) (28in for 2730 and 3330) |
usually ships 12-16 days |
502 |
999-0113
|
Screw 1/4-20 x 1/2 truss head slotted |
$0.99
|
4 |
|
ships same day |
503 |
999-0060
|
Washer 1/4 split lock plain finish |
$0.99
|
2 |
|
ships same day |
504 |
991-1401
|
Clear vinyl tubing (sold by the inch) |
$0.99
|
3 |
(9.5in for 2730 and 2730db) (11in for 3330 and 3330db) (7.5in) |
usually ships 10-12 days |
505 |
164-1484
|
Tee |
$4.95
|
1 |
|
ships same day |
507a |
164-9803
|
36V solution solenoid valve |
$200.08
|
1 |
(2730db and 3330db) |
usually ships 19-25 days |
507b |
164-1191
|
Solenoid valve |
$206.13
|
1 |
(2730 and 3330) |
ships same day |
509 |
164-4612
|
Wire tie |
$7.38
|
2 |
|
usually ships 19-25 days |
510a |
164-0148
|
Right drive casting assembly |
$869.44
|
1 |
(right hand) (includes 502, 512-513, 518, 521-527) |
usually ships 19-25 days |
510b |
164-0147
|
Left drive casting assembly |
$869.44
|
1 |
(left hand) (includes 502, 512-513, 518, 521-527) |
usually ships 19-25 days |
512 |
164-9804
|
Bolt 5/16-18 x 1 hex head (pkg of 5) |
$9.79
|
2 |
|
usually ships 19-25 days |
513 |
999-0028
|
Washer 5/16 split lock plain finish |
$0.99
|
14 |
|
ships same day |
514 |
999-0033
|
Washer 7/16 SAE flat |
$0.99
|
2 |
|
ships same day |
515 |
999-0493
|
Bolt 3/8-16 x 3/4 hex head stainless steel |
$0.99
|
8 |
|
ships same day |
516 |
164-1486
|
Brush deck |
$212.95
|
1 |
|
usually ships 19-25 days |
517a |
164-0126
|
Brush gear assembly |
$2,153.28
|
2 |
(includes 517b-517e) |
usually ships 19-25 days |
517b |
164-0125
|
36V brush gear motor assembly |
$1,950.59
|
2 |
(includes 517c-517d) |
usually ships 19-25 days |
517c |
164-0132
|
Square keyway 1/4 x 1/4 |
$4.82
|
2 |
|
ships same day |
517d |
164-9806
|
Carbon brush assembly |
$47.36
|
2 |
|
usually ships 19-25 days |
517e |
164-9805
|
Anderson connector |
$22.39
|
2 |
|
usually ships 19-25 days |
517f |
164-1140
|
50amp contact pins |
$5.41
|
4 |
|
ships same day |
518 |
164-0146
|
Drive casting |
$473.02
|
2 |
|
usually ships 19-25 days |
521 |
164-0134
|
Drive hub |
$206.23
|
2 |
|
usually ships 19-25 days |
522 |
164-0150
|
Rubber mount |
$46.93
|
2 |
|
usually ships 19-25 days |
523 |
164-0149
|
Drive lug |
$7.13
|
12 |
|
ships same day |
524 |
164-0136
|
Bushing |
$3.20
|
2 |
|
ships same day |
525 |
164-0137
|
Washer 3/8 spring |
$7.38
|
2 |
|
usually ships 19-25 days |
526 |
164-0135
|
Latch |
$16.03
|
2 |
|
usually ships 19-25 days |
527 |
164-9775
|
Washer (pkg of 10) |
$12.06
|
4 |
|
usually ships 19-25 days |