| # | Part | Description | Price | Req | Notes | Availability |
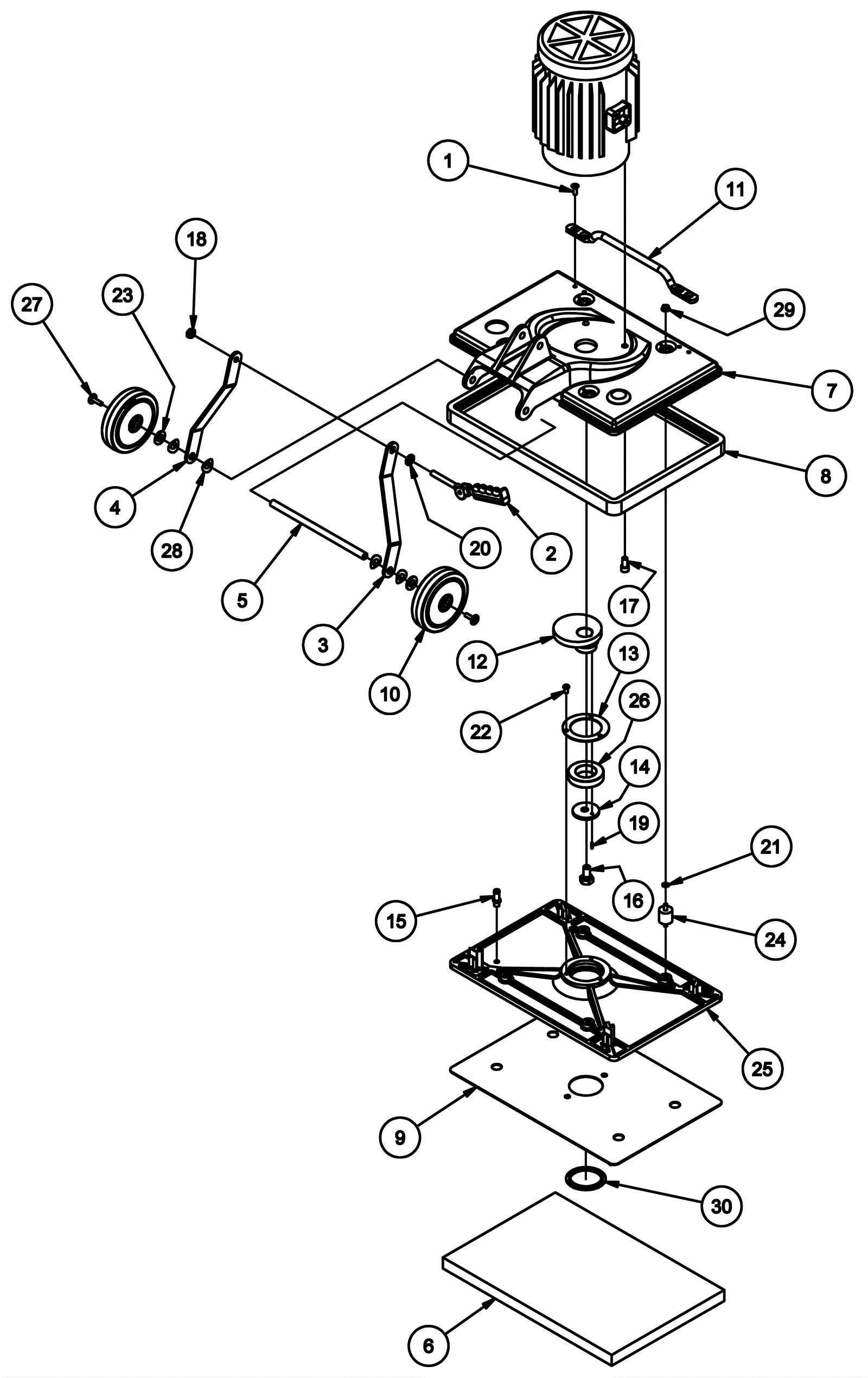
1 |
370-6737
|
SCR 1/4 -20X 3/4 SF ST CAP |
$7.26
|
4 |
|
usually ships 12-15 days |
2 |
170-1267
|
Cam assembly with grip, bolt and locking lever |
$19.89
|
1 |
|
ships same day |
3 |
472-7555
|
LINK-ARM RIGHT |
$17.15
|
1 |
|
usually ships 12-15 days |
4 |
472-7556
|
LINK-ARM LEFT |
$17.15
|
1 |
|
usually ships 12-15 days |
5 |
154-3918
|
Axle shaft |
$13.31
|
1 |
|
usually ships 12-15 days |
6 |
255-9019
|
12 X 18 inch Premium Red Pad (pkg of 5) |
$44.33
|
1 |
|
ships same day |
7 |
373-3021
|
Mainframe Obs-18dc |
$2,527.02
|
1 |
|
usually ships 13-18 days |
8 |
373-3011
|
Bumper frame (black) |
$41.54
|
1 |
|
usually ships 13-18 days |
9 |
270-0113
|
Pad gripper |
$122.23
|
1 |
|
ships same day |
10 |
375-7611
|
Wheel |
$69.01
|
2 |
|
usually ships 13-18 days |
11 |
373-3012
|
Handle lift |
$103.88
|
1 |
|
usually ships 13-18 days |
12 |
270-0164
|
Eccentric disk |
$513.91
|
1 |
|
usually ships 13-18 days |
13 |
270-0162
|
Bearing retainer |
$12.31
|
1 |
|
usually ships 13-18 days |
14 |
270-0160
|
Eccentric retainer |
$12.31
|
1 |
|
usually ships 13-18 days |
15 |
154-0352
|
Hosebarb 1/8 x 3/8 inch |
$36.55
|
1 |
|
usually ships 1-5 days |
16 |
373-3018
|
Screw 1/2-13 x 3/4 |
$12.73
|
1 |
|
usually ships 13-18 days |
18 |
999-0959
|
Nut 3/8-16 hex |
$1.42
|
1 |
|
ships same day |
19 |
373-3020
|
Pin roll |
$12.31
|
1 |
|
usually ships 13-18 days |
20 |
170-5522
|
Wear washer |
$3.63
|
1 |
|
ships same day |
21 |
154-3930
|
Washer 1/4 inch star lock |
$1.21
|
4 |
|
usually ships 12-15 days |
22 |
999-1481
|
Screw 3/8-16 x 1/2 button head stainless steel |
$4.33
|
1 |
|
usually ships 1-5 days |
23 |
170-5602
|
Washer |
$1.21
|
2 |
|
usually ships 12-15 days |
24 |
270-0159
|
Spring mounting kit |
$86.09
|
1 |
|
usually ships 13-18 days |
25 |
373-3022
|
Base Orbital |
$306.30
|
1 |
|
ships same day |
26 |
270-0065
|
Bearing |
$67.42
|
1 |
|
ships same day |
27 |
272-8200
|
Button head screw |
$2.63
|
2 |
|
ships same day |
28 |
272-8202
|
Bowed washer |
$1.94
|
4 |
|
usually ships 12-15 days |
29 |
154-3934
|
Serrated flange nut |
$1.21
|
4 |
|
usually ships 12-15 days |
30 |
154-3935
|
2 1/2 inch button plug |
$14.00
|
1 |
|
usually ships 12-15 days |
N/S |
270-0166
|
Plug |
$12.31
|
1 |
|
usually ships 13-18 days |