# | Part | Description | Price | Req | Notes | Availability |
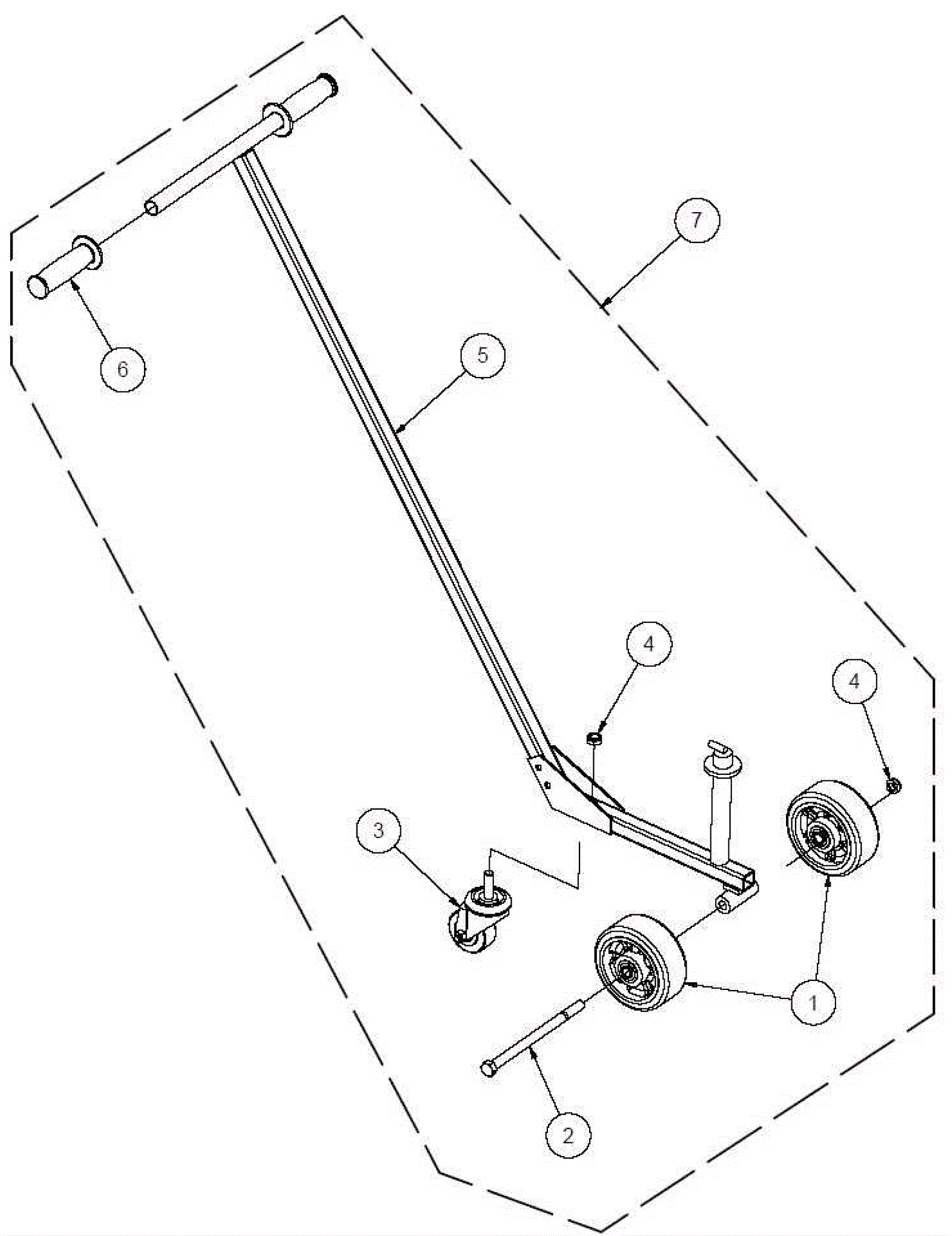
1a |
154-1045
|
Wheel |
$84.80
|
2 |
|
usually ships 12-15 days |
1b |
991-8578
|
Wheel with ball bearing 5 x 2 inch |
$32.90
|
2 |
|
usually ships 18-24 days |
2 |
999-1537
|
Bolt 1/2-13 x 8 hex head grade 5 |
$11.80
|
1 |
|
usually ships 1-5 days |
3 |
154-0497
|
Caster wheel |
$27.51
|
1 |
|
usually ships 1-5 days |
4 |
999-0050
|
Nut 1/2-13 hex jam plain finish |
$0.99
|
1 |
|
ships same day |
5 |
154-9158
|
Transport cart |
$337.48
|
1 |
|
usually ships 12-15 days |
6a |
154-2329
|
Handle grip |
$16.03
|
2 |
|
ships same day |
6b |
991-8571
|
Handle grip |
$4.04
|
2 |
(NON-OEM) |
usually ships 18-24 days |
7 |
154-3445
|
Transport cart handle assembly |
$512.34
|
1 |
(includes 1-6) |
usually ships 12-15 days |