| # | Part | Description | Price | Req | Notes | Availability |
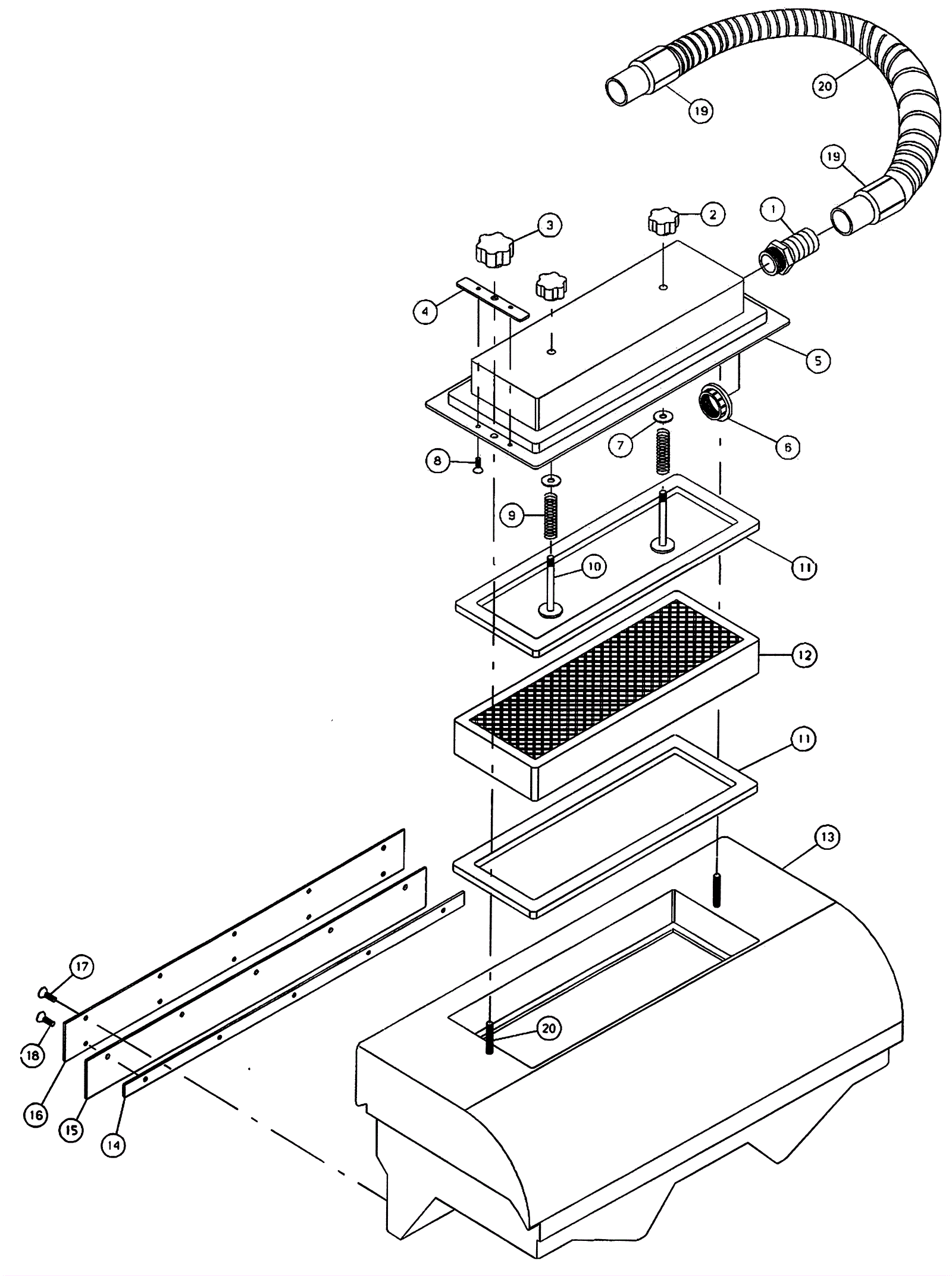
1 |
154-3372
|
Fitting |
$16.98
|
1 |
|
usually ships 12-15 days |
2 |
154-3373
|
Knob (OBSOLETE) |
$4.54
|
2 |
|
usually ships 1-5 days |
3 |
154-3374
|
Knob (OBSOLETE) |
Call for price
|
2 |
|
usually ships 1-5 days |
4 |
154-3375
|
Filter cover plate (OBSOLETE) |
Call for price
|
2 |
|
usually ships 1-5 days |
5 |
154-3376
|
Vacuum filter cover (OBSOLETE) |
Call for price
|
1 |
|
usually ships 1-5 days |
6 |
154-3377
|
Ring nut (OBSOLETE) |
Call for price
|
1 |
|
usually ships 1-5 days |
7 |
154-1879
|
Washer |
$2.40
|
2 |
|
usually ships 1-5 days |
8 |
154-3292
|
Screw (OBSOLETE) |
$0.99
|
4 |
|
usually ships 1-5 days |
10 |
154-3378
|
Filter shaker plate (OBSOLETE) |
Call for price
|
2 |
|
usually ships 1-5 days |
11 |
154-3379
|
Vacuum filter gasket (OBSOLETE) |
Call for price
|
2 |
|
usually ships 1-5 days |
12 |
154-3380
|
Vacuum filter (OBSOLETE) |
$65.77
|
1 |
|
usually ships 1-5 days |
13 |
154-3381
|
Tank (OBSOLETE) |
Call for price
|
1 |
|
usually ships 1-5 days |
14 |
154-3382
|
Front anti dust strip (OBSOLETE) |
Call for price
|
1 |
|
usually ships 1-5 days |
15 |
154-3383
|
Front rubber anti dust molding |
$5.06
|
1 |
|
usually ships 1-5 days |
16 |
154-3384
|
Front rubber molding (OBSOLETE) |
Call for price
|
1 |
|
usually ships 1-5 days |
17 |
154-3385
|
Screw (OBSOLETE) |
Call for price
|
5 |
|
usually ships 1-5 days |
18 |
154-1936
|
Screw |
$3.41
|
5 |
|
usually ships 1-5 days |
19 |
154-3331
|
Hose cuff (black) |
$21.20
|
2 |
|
usually ships 1-5 days |
20 |
154-3386
|
Hose |
$11.72
|
1 |
|
usually ships 1-5 days |