| # | Part | Description | Price | Req | Notes | Availability |
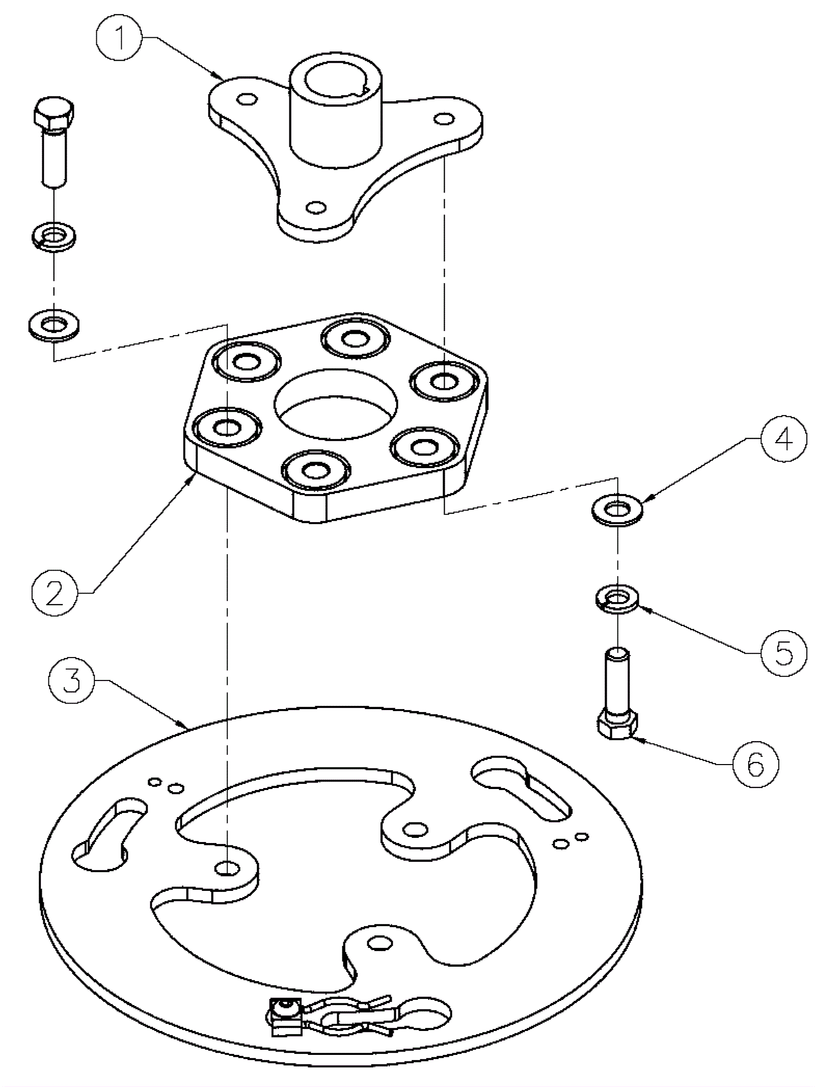
1 |
154-2676
|
Pad driver hub weldment |
$147.46
|
1 |
|
usually ships 1-5 days |
2 |
154-1215
|
Coupling |
$320.23
|
1 |
|
usually ships 12-15 days |
3 |
154-1220
|
Right side attachment plate (OBSOLETE) |
$84.03
|
1 |
|
usually ships 12-15 days |
4 |
999-0032
|
Washer 3/8 USS flat plain finish |
$2.42
|
6 |
|
ships same day |
5 |
154-0633
|
Lock washer |
$2.29
|
6 |
|
usually ships 12-15 days |
6 |
154-1203
|
Screw 3/8 x 1 3/4 |
$3.21
|
6 |
|
usually ships 1-5 days |
70 |
154-3424
|
Main nylon brush |
$115.24
|
1 |
|
usually ships 1-5 days |
71 |
154-3425
|
Base frame (OBSOLETE) |
Call for price
|
1 |
|
usually ships 1-5 days |
72 |
154-3426
|
Lever plate (OBSOLETE) |
Call for price
|
1 |
|
usually ships 1-5 days |
73 |
154-3427
|
Pin (OBSOLETE) |
Call for price
|
4 |
|
usually ships 1-5 days |
74 |
154-3428
|
Bushing (OBSOLETE) |
Call for price
|
8 |
|
usually ships 1-5 days |
75 |
154-3429
|
Lever (OBSOLETE) |
Call for price
|
2 |
|
usually ships 1-5 days |