| # | Part | Description | Price | Req | Notes | Availability |
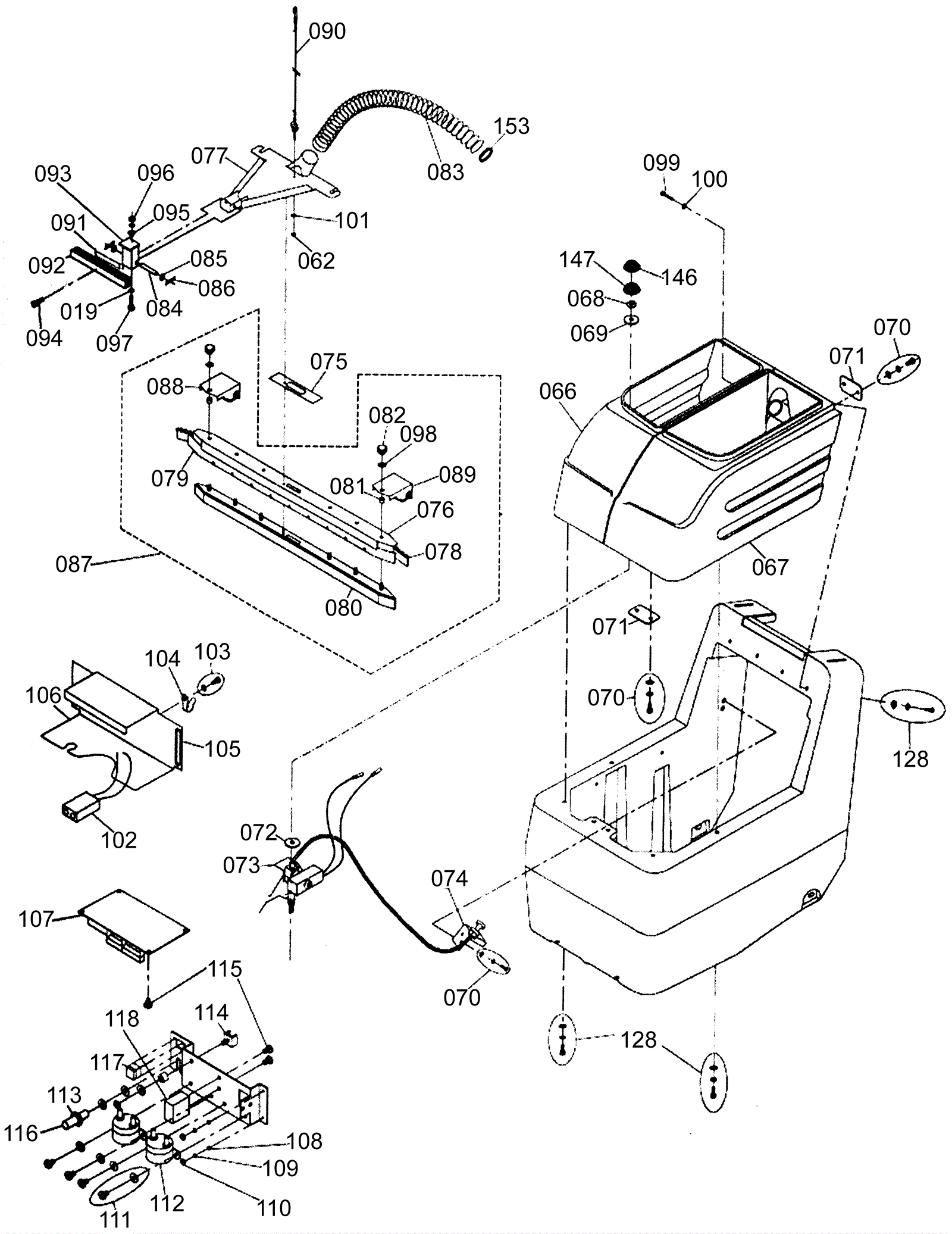
074 |
154-3554
|
Water valve bracket |
$56.22
|
|
|
usually ships 1-5 days |
078 |
N/A
|
Not available |
Call for price
|
1 |
(Rear squeegee blade) |
usually ships 3-26 days |
079 |
N/A
|
Not available |
Call for price
|
1 |
(Front squeegee blade) |
usually ships 3-26 days |
083 |
154-0528
|
Hose |
$41.01
|
1 |
|
usually ships 12-15 days |
087 |
154-3455
|
Squeegee assembly (OBSOLETE) |
$245.28
|
1 |
|
usually ships 12-15 days |
088 |
154-3555
|
Wheel assembly inchB inch |
$62.96
|
|
|
usually ships 1-5 days |
089 |
154-3556
|
Wheel assembly inchA inch |
$29.61
|
|
|
usually ships 1-5 days |
090 |
154-0527
|
Squeegee cable |
$27.23
|
1 |
|
usually ships 1-5 days |
107 |
154-0432
|
Circuit board panel |
$307.65
|
1 |
|
usually ships 12-15 days |
N/S |
154-0523
|
Battery charger (OBSOLETE) |
$357.31
|
1 |
|
usually ships 1-5 days |
N/S |
154-0572
|
Solenoid valve assembly |
$400.69
|
1 |
|
usually ships 1-5 days |