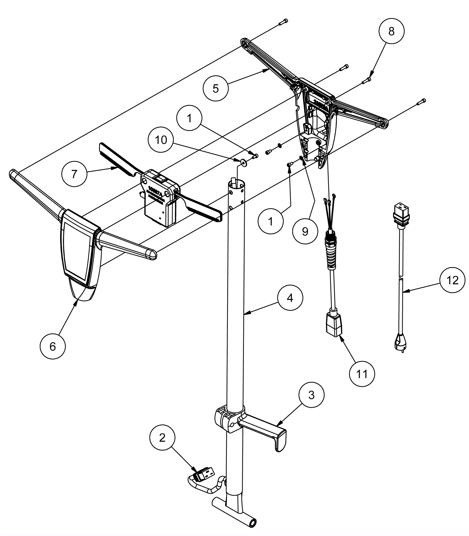
| # | Part | Description | Price | Req | Notes | Availability |
1 |
999-1276
|
Screw 10-32 x 3/8 hex head stainless steel |
$0.99
|
3 |
|
ships same day |
2 |
154-5193
|
Interconnect export cord |
$32.47
|
1 |
|
usually ships 12-15 days |
3 |
170-1517
|
Handle clamp |
$100.82
|
1 |
|
ships same day |
4 |
170-7800
|
Handle tube |
$73.43
|
1 |
|
usually ships 12-15 days |
5 |
270-0145
|
Rear handle |
$174.31
|
1 |
|
ships same day |
6 |
270-0143
|
Front handle |
$105.70
|
1 |
|
ships same day |
7 |
270-0077
|
Switch assembly |
$138.15
|
1 |
|
ships same day |
8 |
999-1275
|
Screw 10-32 x 3/4 hex head stainless steel |
$1.23
|
6 |
|
ships same day |
9 |
999-0311
|
Washer #10 external star lock zinc plated |
$0.99
|
2 |
|
ships same day |
10 |
999-0998
|
Washer #10 flat stainless steel |
$0.99
|
1 |
|
ships same day |
11 |
154-5191
|
Pigtail |
$209.43
|
1 |
|
usually ships 12-15 days |
12 |
154-5192
|
Power cord |
$95.72
|
1 |
|
usually ships 12-15 days |