| # | Part | Description | Price | Req | Notes | Availability |
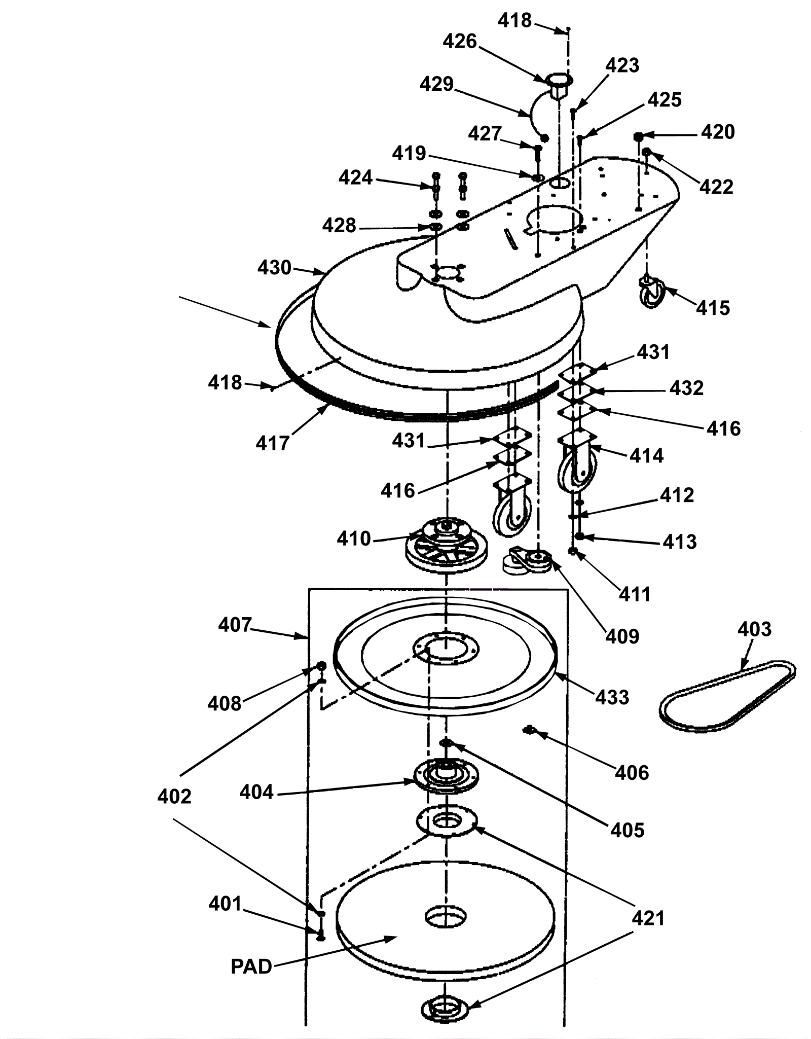
401a |
999-0229
|
Screw 1/4-20 x 1 button head socket plain finish |
$0.99
|
6 |
(for 21 inch models SB21BA, SB21BAE, SB210A, SB210AE) |
ships same day |
401b |
999-0124
|
Screw 1/4-20 x 1 1/4 button head socket cap plain finish |
$0.99
|
6 |
(for 28 inch models SB28K, SB2800CO, SB2800E) |
ships same day |
402 |
999-0016
|
Washer 1/4 flat plain finish |
$0.99
|
12 |
|
ships same day |
403a |
154-0575
|
B37 belt (OBSOLETE) |
$30.10
|
1 |
(for 21 inch models SB21BA, SB21BAE, SB210A, SB210AE) |
usually ships 3-5 days |
403b |
991-0009
|
BX51 belt |
$58.80
|
1 |
(for 28 inch models SB28K, SB2800CO, SB2800E) |
usually ships 12-15 days |
403c |
991-0013
|
BX52 belt |
$18.76
|
1 |
(for 28 inch model SB28KWA) |
ships same day |
404 |
154-0128
|
Flexi-disc |
$206.78
|
1 |
|
usually ships 12-15 days |
405 |
154-0268
|
Washer 3/4 x 39/64 stainless steel |
$14.23
|
1 |
|
usually ships 12-15 days |
406a |
154-0127
|
Velcro stud |
$2.29
|
50 |
(21 inch models) |
ships same day |
406b |
154-0127
|
Velcro stud |
$2.29
|
70 |
(28 inch models) |
ships same day |
407a |
154-0305
|
21 inch pad driver assembly |
$602.45
|
1 |
(includes 401, 402, 404-406, 407c, 408, 421 and 433) |
usually ships 12-15 days |
407b |
154-0306
|
28 inch pad driver assembly |
$731.08
|
1 |
(includes 401, 402, 404-406, 407c, 408, 421 and 433) |
usually ships 12-15 days |
407c |
154-0134
|
21 inch pad driver with studs |
$360.18
|
1 |
|
usually ships 12-15 days |
407d |
154-0985
|
28 inch pad driver (OBSOLETE) |
$243.88
|
1 |
|
usually ships 1-5 days |
408 |
999-0152
|
Nut 1/4-20 nylon insert lock zinc plated |
$0.99
|
6 |
|
ships same day |
409a |
154-0024
|
Idler belt tensioner with v-groove pulley |
$183.81
|
1 |
(for 21 inch models SB21BA, SB21BAE, SB210A, SB210AE and 17 inch models) |
ships same day |
409b |
991-8595
|
4 inch idler pulley |
$53.57
|
1 |
(NON-OEM) (pulley only for 409a) |
ships same day |
409c |
154-0605
|
Idler pulley with belt tensioner (OBSOLETE) |
$90.35
|
1 |
(for 28 inch models SB28K, SB2800CO, SB2800E) |
usually ships 12-15 days |
410a |
154-0133
|
Spindle assembly with pulley (OBSOLETE) |
$165.72
|
1 |
(for 21 inch models SB21BA, SB21BAE, SB210A, SB210AE) |
usually ships 12-15 days |
410b |
154-0123
|
RETRO KIT - Spindle w/ 9.25 inch pulley & belt |
$508.93
|
1 |
(for 28 inch models SB28K, SB2800CO, SB2800E) (before SN 78741) |
ships same day |
410c |
154-0123-R
|
Spindle assembly refurbished with new bearings |
$164.99
|
1 |
(for 28 inch models SB28K, SB2800CO, SB2800E) |
usually ships 3-26 days |
410d |
154-3526
|
Spindle with 9.25 inch pulley |
$457.45
|
1 |
(28 inch) (after SN 78741) |
usually ships 12-15 days |
411 |
999-0211
|
Nut 5/16-18 hex nylon insert lock zinc plated |
$0.99
|
1 |
|
ships same day |
412 |
999-0028
|
Washer 5/16 split lock plain finish |
$0.99
|
2 |
|
ships same day |
413 |
999-0211
|
Nut 5/16-18 hex nylon insert lock zinc plated |
$0.99
|
3 |
|
ships same day |
414a |
154-0025
|
5 inch caster wheel |
$91.88
|
2 |
|
usually ships 12-15 days |
414b |
154-0010
|
5 inch wheel |
$57.17
|
2 |
|
ships same day |
414c |
991-9250
|
WHEEL |
$48.35
|
2 |
(NON-OEM) |
usually ships 18-24 days |
415 |
991-2015
|
Rear caster wheel |
$38.03
|
1 |
|
ships same day |
416 |
154-0203
|
Wheel block |
$13.10
|
1 |
|
usually ships 1-5 days |
417a |
154-0026
|
Bumper molding (black) (sold by the foot) |
$5.17
|
4 ft |
(21 inch) |
usually ships 10-12 days |
417b |
154-0026
|
Bumper molding (black) (sold by the foot) |
$5.17
|
9 ft |
(28 inch) |
usually ships 10-12 days |
418 |
154-0018
|
Pop rivet |
$2.29
|
11 |
|
usually ships 12-15 days |
419 |
999-0032
|
Washer 3/8 USS flat plain finish |
$2.42
|
1 |
|
ships same day |
420 |
154-0199
|
Grommet |
$6.75
|
1 |
|
usually ships 1-5 days |
421a |
991-2201
|
Center-Lok II pad holder - right hand thread (black) |
$39.08
|
1 |
(for 21 inch models SB21BA, SB21BAE, SB210A, SB210AE) |
ships same day |
421c |
991-2202
|
Big mouth pad holder set (blue) |
$42.60
|
1 |
(NON-OEM) |
ships same day |
421d |
991-8577
|
Pad retainer |
$23.04
|
1 |
(NON-OEM) |
ships same day |
422 |
999-0550
|
Bolt 3/8-16 x 2 hex head stainless steel |
$2.95
|
1 |
|
ships same day |
423a |
999-0552
|
Bolt 5/16-18 x 1 1/2 hex head stainless steel |
$1.45
|
3 |
(21 inch) |
ships same day |
423b |
999-0252
|
Screw 5/16-18 x 1 carriage head grade 5 zinc |
$0.99
|
1 |
(28 inch) |
ships same day |
424 |
999-0115
|
Bolt 1/2-13 x 1 hex head grade 5 |
$1.43
|
4 |
|
ships same day |
425a |
999-1370
|
Bolt 5/16-18 x 1 1/2 carriage head stainless steel |
$0.99
|
1 |
(21 inch) |
usually ships 1-5 days |
425b |
999-0225
|
Screw 5/16-18 x 1 button head socket plain finish |
$0.99
|
3 |
(28 inch) |
ships same day |
426a |
154-0019
|
Hour meter |
$122.82
|
1 |
(OEM) |
usually ships 12-15 days |
426b |
991-8559
|
Hour meter |
$41.11
|
1 |
(NON-OEM) |
ships same day |
427 |
999-0649
|
Bolt 3/8-16 x 1 1/4 hex head stainless steel |
$1.21
|
1 |
|
ships same day |
428 |
999-0033
|
Washer 7/16 SAE flat |
$0.99
|
4 |
|
ships same day |
429 |
154-0263
|
Hour meter ground wire (OBSOLETE) |
$17.46
|
1 |
|
usually ships 1-5 days |
430a |
154-9034
|
21 inch deck (OBSOLETE) |
Call for price
|
1 |
|
usually ships 1-5 days |
430b |
N/A
|
Not available |
Call for price
|
1 |
(28 inch deck) |
usually ships 3-26 days |
431 |
154-0616
|
Wheel block |
$16.01
|
2 |
|
usually ships 1-5 days |
432 |
154-0984
|
1/8 inch wheel block |
$24.17
|
1 |
|
usually ships 1-5 days |
433a |
154-0134
|
21 inch pad driver with studs |
$360.18
|
1 |
(for 21 inch models SB21BA, SB21BAE, SB210A, SB210AE) |
usually ships 12-15 days |
433b |
154-0126
|
28 inch pad driver with studs |
$435.82
|
1 |
(for 28 inch models SB28K, SB2800CO, SB2800E) |
usually ships 12-15 days |
N/S |
154-0188
|
Muffler bracket (OBSOLETE) |
$21.03
|
1 |
(Super Buffer 21) |
usually ships 12-15 days |
N/S |
991-1701
|
Helicoil insert M10 x 1.5 |
$1.12
|
|
|
usually ships 16-20 days |
N/S |
N/A
|
Not available |
Call for price
|
1 |
(Super Buffer with Kohler) (Air cleaner base) |
usually ships 3-26 days |