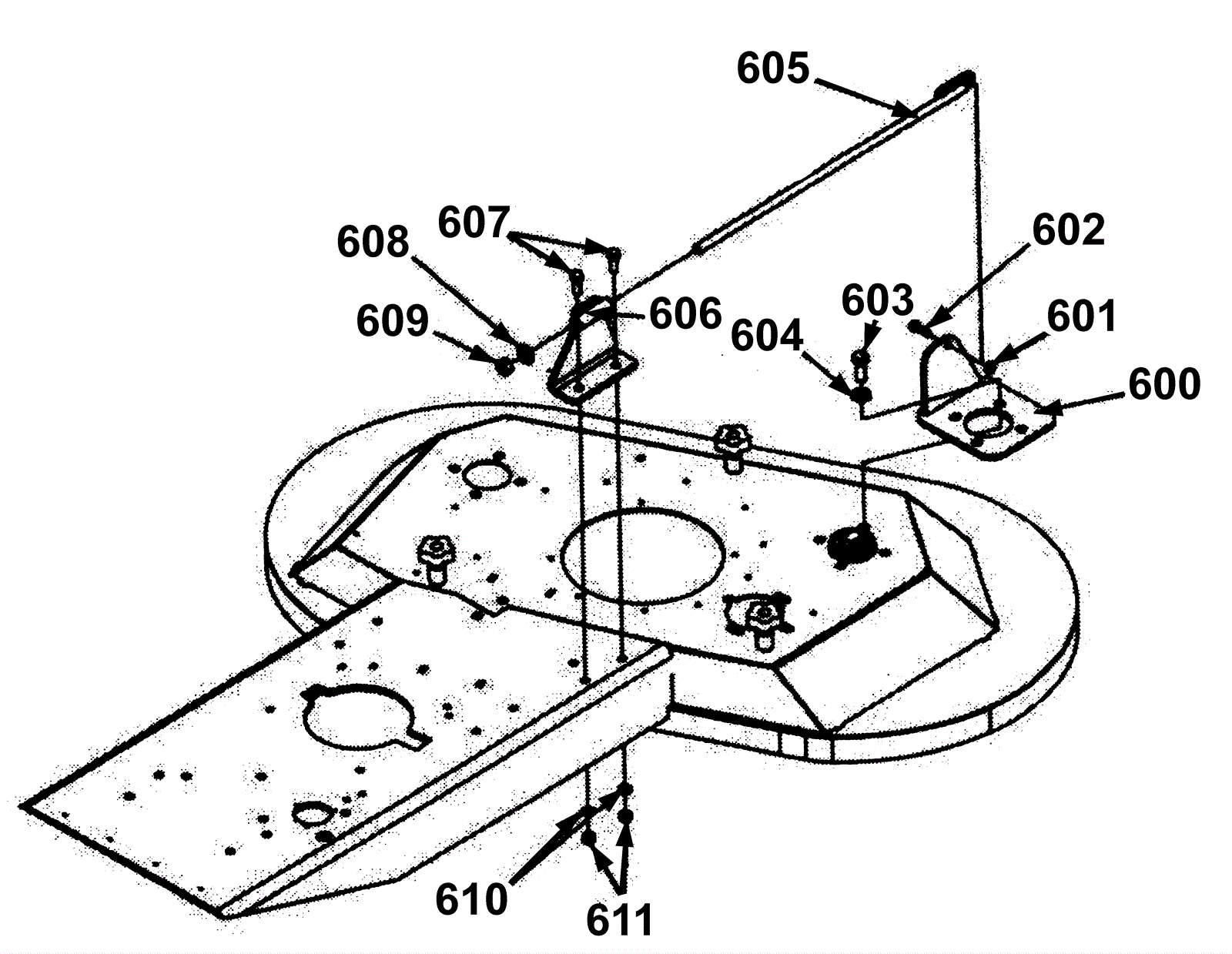
| # | Part | Description | Price | Req | Notes | Availability |
600 |
154-0969
|
Torsion base plate weldment |
$96.26
|
1 |
|
usually ships 1-5 days |
601 |
999-0211
|
Nut 5/16-18 hex nylon insert lock zinc plated |
$0.99
|
1 |
|
ships same day |
602 |
999-0424
|
Bolt 5/16-18 x 1 hex head stainless steel |
$0.99
|
1 |
|
ships same day |
603 |
999-0200
|
Bolt 1/2-13 x 1 1/4 hex head |
$3.45
|
4 |
|
ships same day |
604 |
999-0033
|
Washer 7/16 SAE flat |
$0.99
|
4 |
|
ships same day |
605 |
154-0970
|
Torsion bar weldment |
$112.23
|
1 |
|
usually ships 1-5 days |
606 |
154-0971
|
Torsion bar brace weldment |
$120.47
|
1 |
|
usually ships 1-5 days |
607 |
999-0649
|
Bolt 3/8-16 x 1 1/4 hex head stainless steel |
$1.21
|
2 |
|
ships same day |
608 |
154-0972
|
Washer 1/2 flat narrow |
$2.29
|
1 |
|
usually ships 1-5 days |
609 |
999-0050
|
Nut 1/2-13 hex jam plain finish |
$0.99
|
1 |
|
ships same day |
610 |
154-0633
|
Lock washer |
$2.29
|
2 |
|
usually ships 12-15 days |
611 |
999-0302
|
Nut 3/4-16 hex plain finish |
$0.99
|
2 |
|
ships same day |