| # | Part | Description | Price | Req | Notes | Availability |
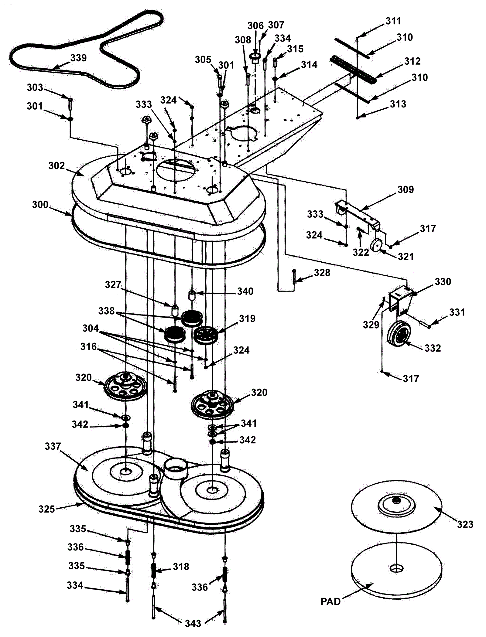
300 |
154-0516
|
Bumper molding (sold by the foot) |
$19.28
|
8 1/2ft |
|
usually ships 12-15 days |
301 |
999-0033
|
Washer 7/16 SAE flat |
$0.99
|
12 |
|
ships same day |
302 |
154-0920
|
Deck assembly (OBSOLETE) |
$944.05
|
1 |
|
usually ships 1-5 days |
303 |
999-0200
|
Bolt 1/2-13 x 1 1/4 hex head |
$3.45
|
8 |
|
ships same day |
304 |
999-0032
|
Washer 3/8 USS flat plain finish |
$2.42
|
3 |
|
ships same day |
305 |
999-0649
|
Bolt 3/8-16 x 1 1/4 hex head stainless steel |
$1.21
|
1 |
|
ships same day |
306a |
154-0019
|
Hour meter |
$122.82
|
1 |
(OEM) |
usually ships 12-15 days |
306b |
991-8559
|
Hour meter |
$41.11
|
1 |
(NON-OEM) |
ships same day |
307 |
154-0018
|
Pop rivet |
$2.29
|
3 |
|
usually ships 12-15 days |
308 |
999-0225
|
Screw 5/16-18 x 1 button head socket plain finish |
$0.99
|
4 |
|
ships same day |
309 |
154-0921
|
Rear wheel bracket (OBSOLETE) |
$49.03
|
1 |
|
usually ships 1-5 days |
310 |
154-0409
|
Skirt clamp band (sold by the foot) |
$8.45
|
2 ft |
|
usually ships 12-15 days |
311 |
999-0511
|
Screw 6-32 x 1 pan head phillips zinc plated |
$0.99
|
4 |
|
ships same day |
312 |
154-0405
|
RokBak bumper molding (sold by the foot) |
$24.13
|
1 |
|
usually ships 12-15 days |
313 |
999-0227
|
Nut 6-32 hex nylon insert lock jam zinc plated |
$0.99
|
4 |
|
ships same day |
314 |
154-0633
|
Lock washer |
$2.29
|
2 |
|
usually ships 12-15 days |
315 |
154-0757
|
Screw 3/8 x 1 |
$2.29
|
2 |
|
usually ships 1-5 days |
316 |
154-0924
|
Bolt 3/8-16 x 4 hex head (OBSOLETE) |
$0.99
|
3 |
|
usually ships 1-5 days |
317 |
999-0211
|
Nut 5/16-18 hex nylon insert lock zinc plated |
$0.99
|
6 |
|
ships same day |
318 |
154-0925
|
Front skirt support spring |
$41.61
|
1 |
|
usually ships 1-5 days |
319 |
154-0941
|
5 inch pulley with .51 inch spacer |
$64.15
|
1 |
|
usually ships 1-5 days |
320 |
154-0942
|
Spindle with 9 3/4 pulley assembly |
$602.93
|
2 |
|
usually ships 1-5 days |
321 |
154-0302
|
3 inch gray wheel |
$26.96
|
2 |
|
usually ships 12-15 days |
322 |
999-0108
|
Bolt 5/16-18 x 1 3/4 hex head grade 5 zinc plated |
$0.99
|
2 |
|
ships same day |
323 |
154-0943
|
21 inch pad driver assembly with riser |
$369.57
|
2 |
|
usually ships 12-15 days |
324 |
999-0188
|
Nut 3/8-16 nylon insert lock zinc plated |
$0.99
|
7 |
|
ships same day |
325 |
154-0927
|
Felt |
$73.41
|
1 |
|
usually ships 12-15 days |
327 |
154-0944
|
Spacer idler 2.095 inch |
$25.81
|
1 |
|
usually ships 1-5 days |
328 |
999-0708
|
Screw 3/8-16 x 2 carriage head grade 5 zinc |
$1.09
|
1 |
|
ships same day |
329 |
154-0929
|
Cotter pin (OBSOLETE) |
$0.99
|
2 |
|
usually ships 1-5 days |
330 |
154-0930
|
Adjustable wheel bracket |
$91.83
|
2 |
|
usually ships 1-5 days |
331 |
154-0754
|
Clevis pin |
$14.00
|
2 |
|
usually ships 12-15 days |
332 |
154-0931
|
Wheel 5 x 2 inch |
$72.61
|
2 |
|
usually ships 1-5 days |
333 |
999-1254
|
Washer 3/8 SAE flat zinc plated |
$0.99
|
7 |
|
ships same day |
334 |
154-0932
|
Spring guide bolt 6 inch |
$78.03
|
1 |
|
usually ships 1-5 days |
335 |
154-0933
|
Skirt rod bushing |
$101.57
|
6 |
|
usually ships 1-5 days |
336 |
154-0934
|
Back skirt support spring (OBSOLETE) |
$7.12
|
2 |
|
usually ships 1-5 days |
337 |
154-0935
|
Dust skirt shroud assembly |
$1,316.10
|
1 |
|
usually ships 1-5 days |
338 |
154-0945
|
4 inch pulley with .51 spacer |
$79.84
|
2 |
|
usually ships 1-5 days |
339 |
154-0946
|
Belt B111 |
$75.82
|
1 |
|
usually ships 12-15 days |
340 |
154-0947
|
Spacer idler 1.965 |
$28.55
|
1 |
|
usually ships 1-5 days |
341 |
999-0630
|
Washer 3/4 SAE flat |
$0.99
|
3 |
|
ships same day |
342 |
154-0948
|
Nut 3/4-10 hex jam |
$3.08
|
2 |
|
usually ships 1-5 days |
343 |
154-0940
|
Spring guide bolt 5 inch (OBSOLETE) |
Call for price
|
2 |
|
usually ships 1-5 days |
344 |
999-0839
|
Bolt 5/16-18 x 3 1/2 hex head plain finish |
$1.85
|
1 |
|
ships same day |