| # | Part | Description | Price | Req | Notes | Availability |
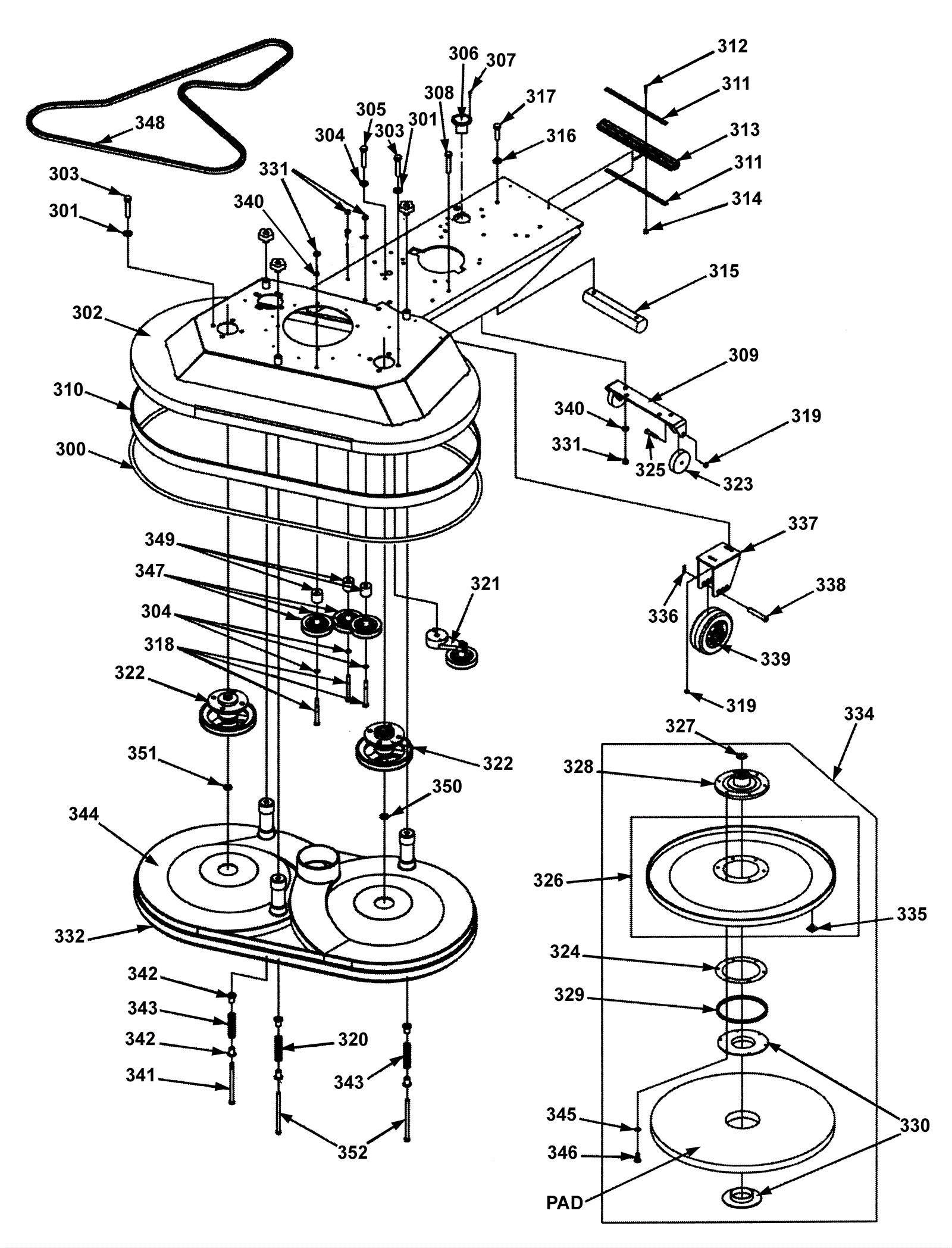
300 |
154-3543
|
Hammerhead bumper retrofit kit |
$186.30
|
1 |
|
usually ships 1-5 days |
301 |
999-0033
|
Washer 7/16 SAE flat |
$0.99
|
12 |
|
ships same day |
302 |
154-0920
|
Deck assembly (OBSOLETE) |
$944.05
|
1 |
|
usually ships 1-5 days |
303 |
999-0200
|
Bolt 1/2-13 x 1 1/4 hex head |
$3.45
|
8 |
|
ships same day |
304 |
999-0032
|
Washer 3/8 USS flat plain finish |
$2.42
|
3 |
|
ships same day |
305 |
999-0649
|
Bolt 3/8-16 x 1 1/4 hex head stainless steel |
$1.21
|
1 |
|
ships same day |
306a |
154-0019
|
Hour meter |
$122.82
|
1 |
(OEM) |
usually ships 12-15 days |
306b |
991-8559
|
Hour meter |
$41.11
|
1 |
(NON-OEM) |
ships same day |
307 |
154-0018
|
Pop rivet |
$2.29
|
3 |
|
usually ships 12-15 days |
308 |
999-0225
|
Screw 5/16-18 x 1 button head socket plain finish |
$0.99
|
4 |
|
ships same day |
309 |
154-0921
|
Rear wheel bracket (OBSOLETE) |
$49.03
|
1 |
|
usually ships 1-5 days |
310 |
154-3543
|
Hammerhead bumper retrofit kit |
$186.30
|
1 |
|
usually ships 1-5 days |
311 |
154-0409
|
Skirt clamp band (sold by the foot) |
$8.45
|
2 ft |
|
usually ships 12-15 days |
312 |
999-0511
|
Screw 6-32 x 1 pan head phillips zinc plated |
$0.99
|
4 |
|
ships same day |
313 |
154-0405
|
RokBak bumper molding (sold by the foot) |
$24.13
|
1 |
|
usually ships 12-15 days |
314 |
999-0227
|
Nut 6-32 hex nylon insert lock jam zinc plated |
$0.99
|
4 |
|
ships same day |
315 |
154-0923
|
Weight |
$108.35
|
1 |
|
usually ships 1-5 days |
316 |
154-0633
|
Lock washer |
$2.29
|
2 |
|
usually ships 12-15 days |
317 |
154-0757
|
Screw 3/8 x 1 |
$2.29
|
2 |
|
usually ships 1-5 days |
318 |
154-0924
|
Bolt 3/8-16 x 4 hex head (OBSOLETE) |
$0.99
|
3 |
|
usually ships 1-5 days |
319 |
999-0211
|
Nut 5/16-18 hex nylon insert lock zinc plated |
$0.99
|
6 |
|
ships same day |
320 |
154-0925
|
Front skirt support spring |
$41.61
|
1 |
|
usually ships 1-5 days |
321a |
154-0024
|
Idler belt tensioner with v-groove pulley |
$183.81
|
1 |
|
ships same day |
321b |
991-8595
|
4 inch idler pulley |
$53.57
|
1 |
(NON-OEM) (pulley only) |
ships same day |
322 |
154-0689
|
Spindle with 7 1/4 inch pulley |
$451.00
|
1 |
|
usually ships 12-15 days |
323 |
154-0302
|
3 inch gray wheel |
$26.96
|
2 |
|
usually ships 12-15 days |
324 |
154-0408
|
Pad holder stress relief ring |
$43.31
|
1 |
|
usually ships 12-15 days |
325 |
999-0108
|
Bolt 5/16-18 x 1 3/4 hex head grade 5 zinc plated |
$0.99
|
2 |
|
ships same day |
326 |
154-0926
|
Padholder 21 inch studs (OBSOLETE) |
$141.12
|
2 |
|
usually ships 1-5 days |
327 |
154-0268
|
Washer 3/4 x 39/64 stainless steel |
$14.23
|
2 |
|
usually ships 12-15 days |
328 |
154-0128
|
Flexi-disc |
$206.78
|
2 |
|
usually ships 12-15 days |
329 |
154-0312
|
Spacer ring for Center-Lok II |
$18.66
|
2 |
|
usually ships 12-15 days |
330a |
991-2201
|
Center-Lok II pad holder - right hand thread (black) |
$39.08
|
2 |
|
ships same day |
330b |
991-2202
|
Big mouth pad holder set (blue) |
$42.60
|
2 |
(NON-OEM) |
ships same day |
330c |
991-8577
|
Pad retainer |
$23.04
|
2 |
(NON-OEM) |
ships same day |
331 |
999-0188
|
Nut 3/8-16 nylon insert lock zinc plated |
$0.99
|
7 |
|
ships same day |
332 |
154-0927
|
Felt |
$73.41
|
2 |
|
usually ships 12-15 days |
334 |
154-0928
|
Padholder 21 inch complete assembly |
$221.73
|
2 |
|
usually ships 1-5 days |
335 |
154-0127
|
Velcro stud |
$2.29
|
100 |
|
ships same day |
336 |
154-0929
|
Cotter pin (OBSOLETE) |
$0.99
|
2 |
|
usually ships 1-5 days |
337 |
154-0930
|
Adjustable wheel bracket |
$91.83
|
2 |
|
usually ships 1-5 days |
338 |
154-0754
|
Clevis pin |
$14.00
|
2 |
|
usually ships 12-15 days |
339 |
154-0931
|
Wheel 5 x 2 inch |
$72.61
|
2 |
|
usually ships 1-5 days |
340 |
999-1254
|
Washer 3/8 SAE flat zinc plated |
$0.99
|
7 |
|
ships same day |
341 |
154-0932
|
Spring guide bolt 6 inch |
$78.03
|
1 |
|
usually ships 1-5 days |
342 |
154-0933
|
Skirt rod bushing |
$101.57
|
6 |
|
usually ships 1-5 days |
343 |
154-0934
|
Back skirt support spring (OBSOLETE) |
$7.12
|
2 |
|
usually ships 1-5 days |
344 |
154-0935
|
Dust skirt shroud assembly |
$1,316.10
|
1 |
|
usually ships 1-5 days |
345 |
999-0238
|
Washer 1/4 internal star lock zinc plated |
$0.99
|
6 |
|
ships same day |
346 |
999-0235
|
Screw 1/4-20 x 3/4 button head socket plain finish |
$0.99
|
6 |
|
ships same day |
347 |
991-8595
|
4 inch idler pulley |
$53.57
|
2 |
|
ships same day |
348 |
154-0936
|
Belt BB105 |
$147.29
|
1 |
|
usually ships 12-15 days |
349 |
154-0937
|
Idler spacer (OBSOLETE) |
$35.56
|
2 |
|
usually ships 1-5 days |
350 |
154-0938
|
Spacer |
$41.02
|
1 |
|
usually ships 12-15 days |
351 |
154-0939
|
Bearing spacer |
$47.63
|
1 |
|
usually ships 1-5 days |
352 |
154-0940
|
Spring guide bolt 5 inch (OBSOLETE) |
Call for price
|
2 |
|
usually ships 1-5 days |