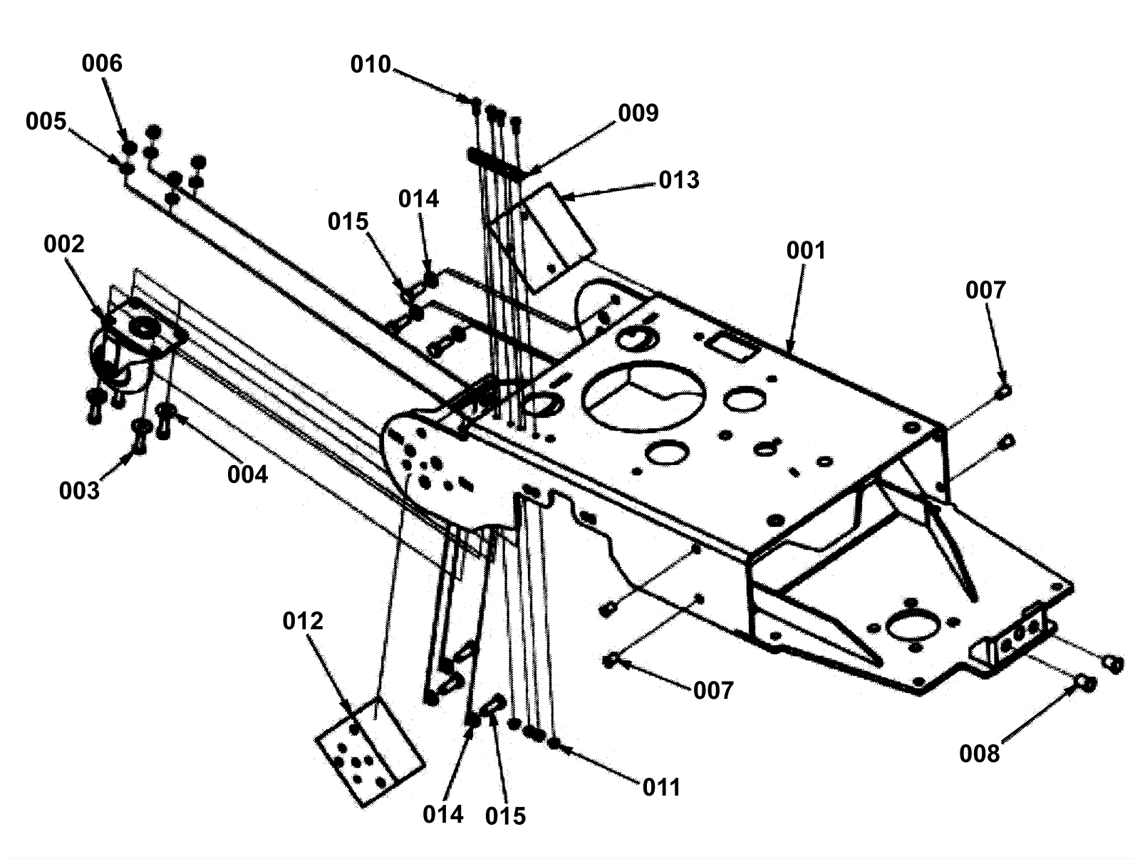
# | Part | Description | Price | Req | Notes | Availability |
001 |
154-0825
|
Weldment frame (OBSOLETE) |
$378.68
|
1 |
|
usually ships 1-5 days |
002 |
154-0630
|
Swivel caster wheel (OBSOLETE) |
$86.74
|
1 |
|
usually ships 12-15 days |
003 |
999-0424
|
Bolt 5/16-18 x 1 hex head stainless steel |
$0.99
|
4 |
|
ships same day |
004 |
999-0024
|
Washer 5/16 flat stainless steel |
$1.34
|
4 |
|
usually ships 16-20 days |
005 |
999-0028
|
Washer 5/16 split lock plain finish |
$0.99
|
4 |
|
ships same day |
006 |
999-0211
|
Nut 5/16-18 hex nylon insert lock zinc plated |
$0.99
|
4 |
|
usually ships 16-20 days |
007 |
154-0783
|
Compression insert |
$3.70
|
4 |
|
usually ships 1-5 days |
008 |
154-0826
|
Insert 5/16-18 compression type |
$5.50
|
4 |
|
usually ships 1-5 days |
009 |
154-0827
|
Fuse holder bracket (OBSOLETE) |
$13.23
|
2 |
|
usually ships 1-5 days |
010 |
154-0800
|
Screw 10-24 x 5/8 button head stainless steel |
$3.12
|
4 |
|
usually ships 12-15 days |
011 |
154-0649
|
Nut 10-24 spin lock |
$2.29
|
4 |
|
usually ships 1-5 days |
012 |
154-0828
|
Frame mounting block right side (OBSOLETE) |
$69.74
|
1 |
|
usually ships 1-5 days |
013 |
154-0829
|
Frame mounting block left side (OBSOLETE) |
$69.74
|
1 |
|
usually ships 1-5 days |
014 |
154-0633
|
Lock washer |
$2.29
|
6 |
|
usually ships 12-15 days |
015 |
154-0757
|
Screw 3/8 x 1 |
$2.29
|
6 |
|
usually ships 1-5 days |