| # | Part | Description | Price | Req | Notes | Availability |
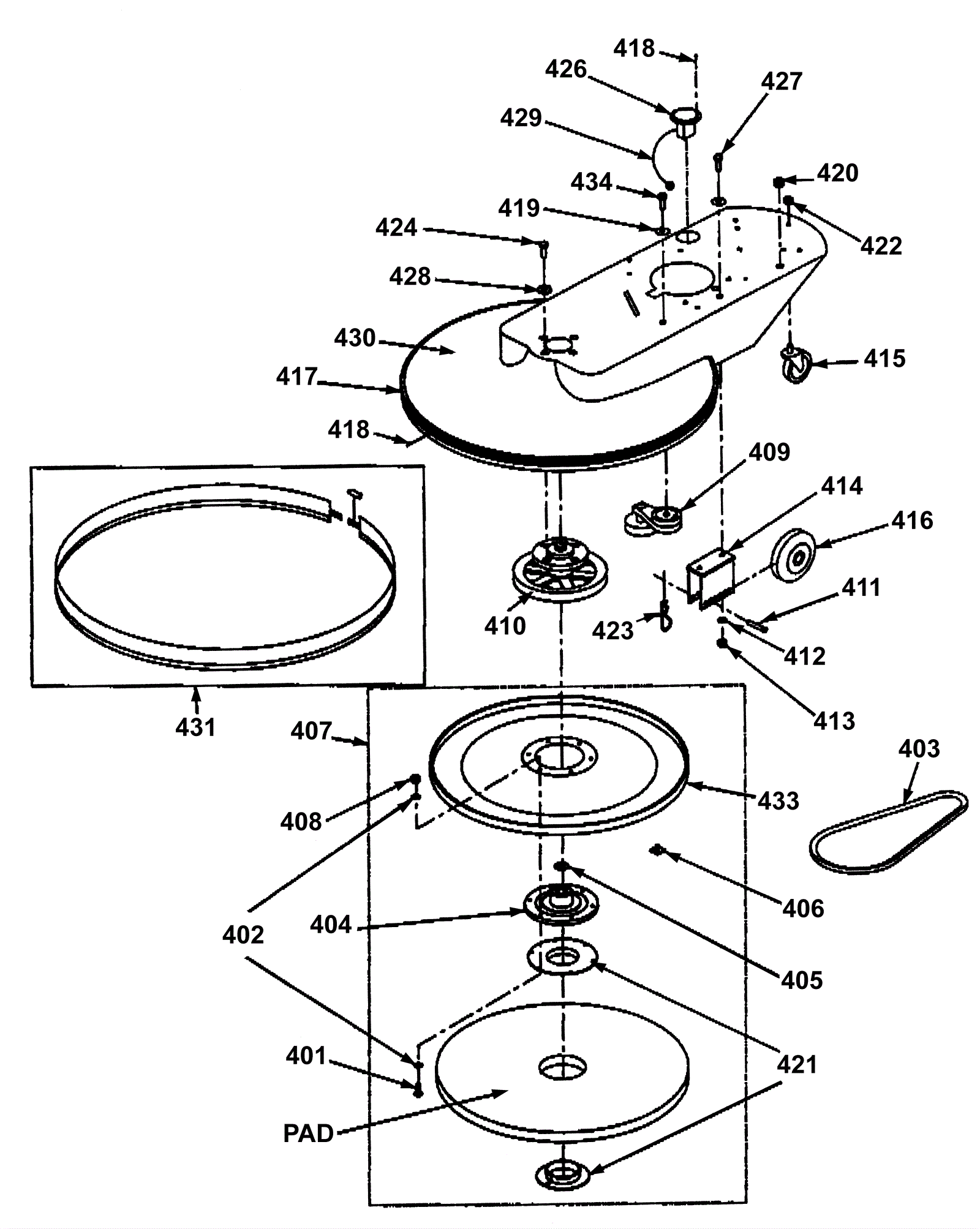
401 |
999-0124
|
Screw 1/4-20 x 1 1/4 button head socket cap plain finish |
$0.99
|
6 |
|
ships same day |
402 |
999-0016
|
Washer 1/4 flat plain finish |
$0.99
|
12 |
|
ships same day |
403 |
154-1070
|
BX49 belt |
$40.05
|
1 |
|
usually ships 1-5 days |
404 |
154-0128
|
Flexi-disc |
$206.78
|
1 |
|
usually ships 12-15 days |
405 |
154-0268
|
Washer 3/4 x 39/64 stainless steel |
$14.23
|
1 |
|
usually ships 12-15 days |
406 |
154-0127
|
Velcro stud |
$2.29
|
76 |
|
ships same day |
407 |
154-0534
|
24 inch pad driver assembly |
$618.37
|
1 |
|
usually ships 12-15 days |
408 |
999-0152
|
Nut 1/4-20 nylon insert lock zinc plated |
$0.99
|
6 |
|
ships same day |
410 |
154-0689
|
Spindle with 7 1/4 inch pulley |
$451.00
|
1 |
|
usually ships 12-15 days |
411 |
154-0285
|
Clevis pin |
$5.89
|
2 |
|
usually ships 12-15 days |
412 |
999-0024
|
Washer 5/16 flat stainless steel |
$1.34
|
4 |
|
ships same day |
413 |
999-0211
|
Nut 5/16-18 hex nylon insert lock zinc plated |
$0.99
|
4 |
|
ships same day |
414 |
154-0691
|
Front wheel bracket assembly |
Call for price
|
2 |
|
usually ships 1-5 days |
415 |
991-2015
|
Rear caster wheel |
$38.03
|
1 |
|
ships same day |
416 |
991-2012
|
5 inch wheel |
$18.47
|
2 |
|
ships same day |
417 |
154-0393
|
24 inch low profile shroud bumper |
$84.34
|
1 |
|
usually ships 12-15 days |
418 |
997-1002
|
Pop rivet 3/16 x 7/16 |
$0.99
|
7 |
|
ships same day |
420 |
154-0199
|
Grommet |
$6.75
|
1 |
|
usually ships 1-5 days |
421a |
991-2201
|
Center-Lok II pad holder - right hand thread (black) |
$39.08
|
1 |
|
ships same day |
421b |
991-2202
|
Big mouth pad holder set (blue) |
$42.60
|
1 |
(NON-OEM) |
ships same day |
422 |
999-0050
|
Nut 1/2-13 hex jam plain finish |
$0.99
|
1 |
|
ships same day |
423 |
997-2515
|
Cotter pin |
$0.99
|
2 |
|
ships same day |
424 |
999-0115
|
Bolt 1/2-13 x 1 hex head grade 5 |
$1.43
|
4 |
|
ships same day |
426a |
154-0019
|
Hour meter |
$122.82
|
1 |
(OEM) |
usually ships 12-15 days |
426b |
991-8559
|
Hour meter |
$41.11
|
1 |
(NON-OEM) |
ships same day |
427 |
999-0225
|
Screw 5/16-18 x 1 button head socket plain finish |
$0.99
|
4 |
|
ships same day |
428 |
999-0033
|
Washer 7/16 SAE flat |
$0.99
|
1 |
|
ships same day |
429 |
154-0263
|
Hour meter ground wire (OBSOLETE) |
$17.46
|
1 |
|
usually ships 1-5 days |
42c |
991-8577
|
Pad retainer |
$23.04
|
1 |
(NON-OEM) |
ships same day |
430 |
154-0733
|
Deck 24 inch (OBSOLETE) |
Call for price
|
1 |
|
usually ships 1-5 days |
431 |
154-0681
|
24 inch low profile skirt assembly (OBSOLETE) |
$150.80
|
1 |
|
usually ships 12-15 days |
433 |
154-0557
|
24 inch pad driver with studs |
$320.29
|
1 |
|
usually ships 12-15 days |
434 |
999-0649
|
Bolt 3/8-16 x 1 1/4 hex head stainless steel |
$1.21
|
1 |
|
ships same day |