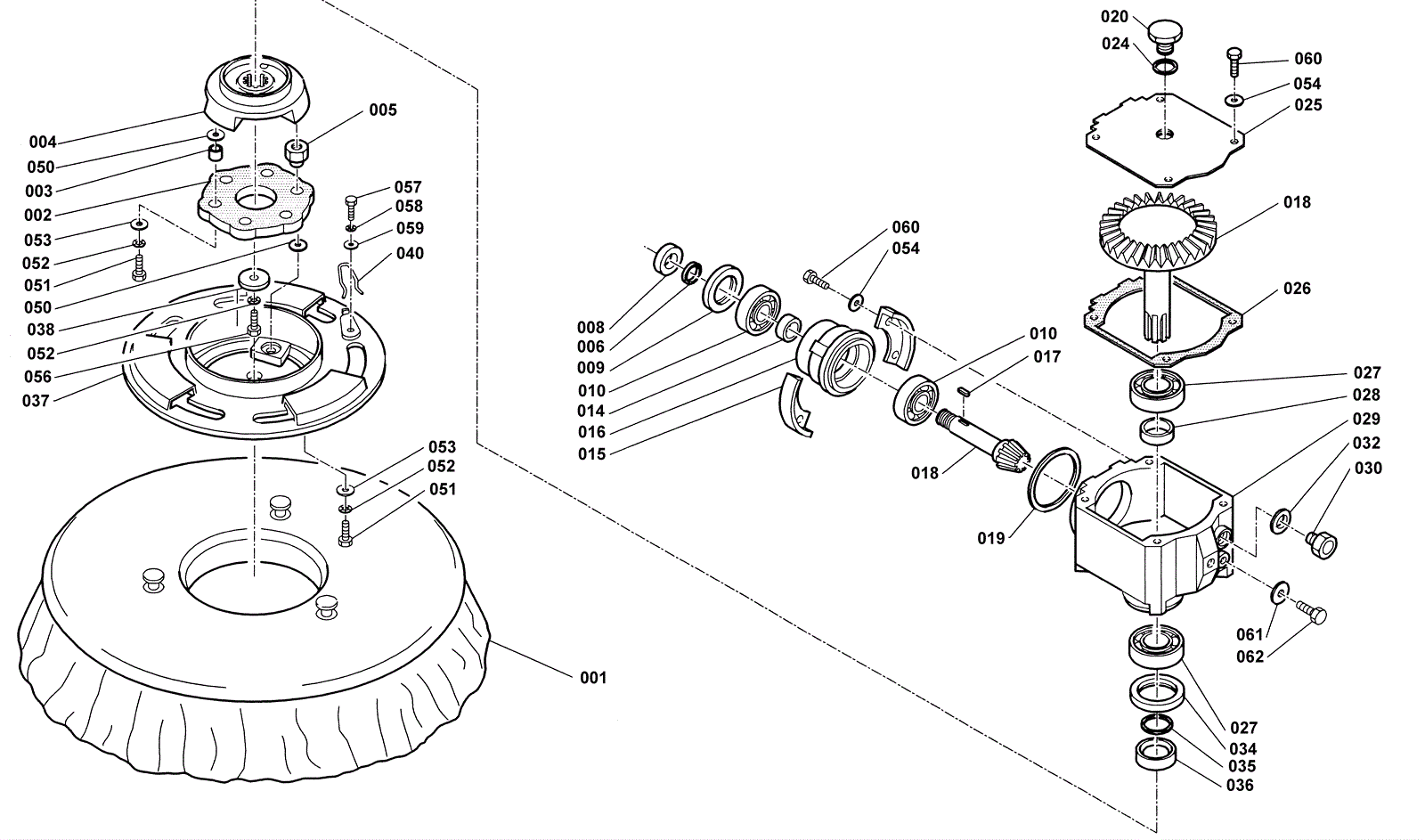
Reduction Gears Assembly
Click to enlarge