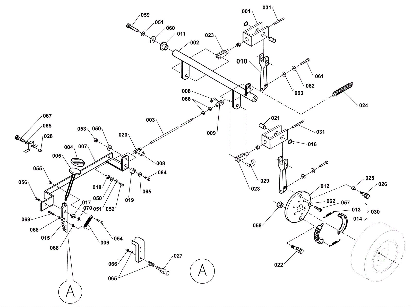
Brake and Wheels Assembly
Click to enlarge
#
Part
Description
Price
Req
Notes
Availability
010
250-1153
Lever
$67.67
usually ships 1-5 days