| |
- Entire Assembly - 169-4002 |
|
| RefNbr |
Part Number |
Description |
Req |
Notes |
| 101 |
991-6004 |
Female quick coupler |
1 |
|
| 102 |
164-0947 |
45 degree elbow |
1 |
|
| 103 |
991-6007 |
Propane fuel hose |
1 |
|
| 105 |
169-0016 |
Key switch assembly with two keys |
1 |
|
| 106 |
169-0017 |
Dust bonnet |
1 |
(dust bonnet) |
| 107 |
999-0670 |
Screw 10-32 x 1/2 button head |
2 |
|
| 108a |
169-0187 |
Engine mounted auto-shut down control unit (OBSOLETE) |
1 |
(All models) |
| 108b |
164-3096 |
Handle mounted box oxygen sensor with wires (OBSOLETE) |
1 |
(Warhorse only) |
| 109 |
169-0018 |
Oil filter wrench (OBSOLETE) |
1 |
|
| 110 |
164-0907 |
Decal kit (OBSOLETE) |
1 |
|
| 112a |
169-0021 |
Air cleaner lock nut (OBSOLETE) |
1 |
|
| 112b |
169-0013 |
Hood support stud |
1 |
(has three legs) (the stud the air cleaner cover fastens to) |
| 113 |
169-0019 |
Oil filter Onan 20 |
1 |
|
| 114 |
154-0143 |
Oil pressure switch with 2 prongs |
1 |
|
| 115 |
169-0069 |
20HP voltage regulator |
1 |
|
| 116a |
169-0023 |
Ignition coil with brackets |
1 |
|
| 116b |
169-0045 |
Ignition coil without brackets |
1 |
|
| 117 |
164-1154 |
Engine wire insulator (OBSOLETE) |
1 |
(new models) |
| 118 |
169-0024 |
Air filter pre filter wrapper |
1 |
|
| 120 |
169-0025 |
Air filter cartridge (OBSOLETE) |
1 |
|
| 121 |
164-0911 |
Caution decal (OBSOLETE) |
1 |
|
| 122 |
166-0002 |
Spark plug for Onan 20 |
2 |
|
| 123a |
169-0090 |
Oxygen sensor 3 wire |
1 |
(newer style - mounts in barrel of muffler) |
| 123b |
991-1601 |
Oxygen sensor 1 wire (OBSOLETE) |
1 |
(older style - mounts in arm of muffler) |
| 123c |
164-4001 |
Engine sensor kit |
1 |
(for handle mounted sensor) |
| 124a |
169-0006 |
Plug wire kit |
1 |
|
| 124b |
165-0012 |
Spark plug boot (OBSOLETE) |
1 |
|
| 125a |
169-0008 |
Catalytic muffler (oxygen sensor in barrel) (Onan 20) |
1 |
(newer style - as shown) (old style with arm mounted oxygen sensor not available) |
| 125b |
169-0010 |
Muffler gasket for 20 HP Onan |
2 |
|
| 126 |
169-0026 |
Spark arrestor |
1 |
|
| 127 |
999-0043 |
Bolt 7/16-20 x 1 1/4 hex head grade 5 zinc plated |
1 |
|
| 128 |
999-0044 |
Washer 7/16 medium split lock |
1 |
|
| 129 |
999-0033 |
Washer 7/16 SAE flat |
1 |
|
| 130 |
999-0187 |
Washer 1/2 flat plain finish |
1 |
|
| 131a |
164-1042 |
Drive clutch (OBSOLETE) |
1 |
|
| 132 |
164-0923 |
Square keyway |
1 |
|
| 133 |
164-1043 |
Motor shaft collar |
1 |
|
| 135 |
164-0398 |
Control valve (white clamp) |
1 |
|
| 138 |
169-0027 |
Starter (ONAN PERFORMER ENGINE ONLY) |
1 |
|
| 139 |
169-0028 |
Fuel regulator |
1 |
|
| 140a |
169-0072 |
Fuel shutoff valve (OBSOLETE) |
1 |
(for the new style engine mounted emission control system) |
| 140b |
991-6002 |
12V fuel lock off (Model 152) |
1 |
(you will need to clip the grounded wire for old style handle mounted sensor system) |
| 141 |
169-0030 |
Wire harness assembly |
1 |
|
| 142a |
169-0142 |
Muffler plug |
1 |
(old style) |
| 142b |
169-0143 |
Muffler plug shim |
1 |
(old style) |
| 143 |
154-0037 |
Tubing 1/2 x 5/8 (clear) (sold by the foot) |
1 ft |
|
| 145 |
154-0264 |
Silicon rectifier diode |
1 |
|
| KIT |
050-0003 |
Onan 20 -100 hour service |
1 |
(includes oil filter, pre-air filter, air filter and spark plug) |
| N/S |
154-0042 |
Oil drain valve kit |
1 |
|
| N/S |
155-0003 |
Motor oil 10W30 |
1 |
|
| N/S |
164-6531 |
Gasket-oil base-performer |
1 |
|
| N/S |
169-0003 |
Valve cover gasket |
1 |
|
| N/S |
169-0014 |
Hood for covering the air cleaner |
1 |
|
| N/S |
169-0044 |
Head gasket (Onan 20) |
1 |
|
| N/S |
169-0045 |
Ignition coil without brackets |
1 |
|
| N/S |
169-0091 |
Capacitor (condenser) |
1 |
|
| N/S |
169-0204 |
Crankcase breather |
1 |
|
| N/S |
169-0346 |
Filter cage |
1 |
|
| N/S |
169-0440 |
Breather tube |
1 |
|
| N/S |
169-0684 |
Dipstick with cap 14-1/4 inch (Onan 20) (OBSOLETE) |
1 |
|
| N/S |
991-1810 |
Compression tester |
1 |
|
| N/S |
991-1832 |
Emission tester |
1 |
|
| N/S |
169-0138 |
Governor Rod spring |
1 |
|
| N/S |
169-0095 |
Governor return spring 20 HP |
1 |
|
| N/S |
999-0018 |
Bolt 1/4-20 x 1/2 hex cap grade 5 zinc plated |
2 |
|
| N/S |
999-0060 |
Washer 1/4 split lock plain finish |
2 |
|
| N/S |
991-1800 |
5/8 Spark plug socketwrench w/rubber boot 3/8drive (OBSOLETE |
1 |
|
| N/S |
169-0034 |
Intake manifold gasket |
2 |
|
| N/S |
999-0031 |
Bolt 5/16-18 x 1 hex head grade 5 zinc plated |
3 |
|
| N/S |
999-0132 |
Bolt 5/16-18 x 3/4 hex head grade 5 zinc plated |
4 |
|
| N/S |
999-0028 |
Washer 5/16 split lock plain finish |
4 |
|
| N/S |
169-0010 |
Muffler gasket for 20 HP Onan |
2 |
|
| N/S |
991-4039 |
Spark plug tester |
1 |
|
| N/S |
991-1803 |
Oxygen sensor socket |
1 |
|
|
|
P248V Overview - 169-4003 |
|
| RefNbr |
Part Number |
Description |
Req |
Notes |
| 101 |
991-6004 |
Female quick coupler |
1 |
|
| 102 |
164-0947 |
45 degree elbow |
1 |
|
| 103 |
991-6007 |
Propane fuel hose |
1 |
|
| 105 |
169-0016 |
Key switch assembly with two keys |
1 |
|
| 106 |
169-0017 |
Dust bonnet |
1 |
|
| 108 |
169-0018 |
Oil filter wrench (OBSOLETE) |
1 |
|
| 109 |
169-0019 |
Oil filter Onan 20 |
1 |
|
| 110 |
154-0143 |
Oil pressure switch with 2 prongs |
1 |
|
| 111 |
169-0021 |
Air cleaner lock nut (OBSOLETE) |
1 |
|
| 112 |
169-0069 |
20HP voltage regulator |
1 |
|
| 113a |
169-0023 |
Ignition coil with brackets |
1 |
|
| 113b |
169-0045 |
Ignition coil without brackets |
|
|
| 114 |
169-0024 |
Air filter pre filter wrapper |
1 |
|
| 116 |
169-0025 |
Air filter cartridge (OBSOLETE) |
1 |
|
| 118 |
169-0030 |
Wire harness assembly |
1 |
|
| 119 |
166-0002 |
Spark plug for Onan 20 |
2 |
|
| 120a |
169-0006 |
Plug wire kit |
1 |
(kit includes 2 wires) |
| 120b |
165-0012 |
Spark plug boot (OBSOLETE) |
|
|
| 121 |
169-0008 |
Catalytic muffler (oxygen sensor in barrel) (Onan 20) |
1 |
(also order 2 of 169 - 0010 with this item) |
| 122 |
169-0026 |
Spark arrestor |
1 |
|
| 123a |
169-0142 |
Muffler plug |
1 |
|
| 123b |
169-0143 |
Muffler plug shim |
1 |
|
| 124 |
154-0037 |
Tubing 1/2 x 5/8 (clear) (sold by the foot) |
2 ft |
(sold by foot) |
| 125 |
169-0072 |
Fuel shutoff valve (OBSOLETE) |
1 |
|
| 126 |
164-0398 |
Control valve (white clamp) |
1 |
|
| 127 |
169-0027 |
Starter (ONAN PERFORMER ENGINE ONLY) |
1 |
|
| 128 |
169-0028 |
Fuel regulator |
1 |
|
| 129 |
169-0180 |
Fuel hose |
1 |
(lgnition coil with bracket) |
| N/S |
050-0001 |
Onan 20 service kit with video and oil filter wrench |
1 |
|
| N/S |
169-0095 |
Governor return spring 20 HP |
|
|
| N/S |
154-0042 |
Oil drain valve kit |
|
|
| N/S |
040-0003 |
ShopKo Buffer and Auto Scrubber Service Video |
|
|
| N/S |
157-0001 |
Hour meter |
1 |
|
| N/S |
169-0138 |
Governor Rod spring |
|
|
| N/S |
169-0003 |
Valve cover gasket |
|
|
| N/S |
169-0010 |
Muffler gasket for 20 HP Onan |
|
|
| N/S |
050-0003 |
Onan 20 -100 hour service |
- |
|
| N/S |
169-0034 |
Intake manifold gasket |
2 |
|
|
|
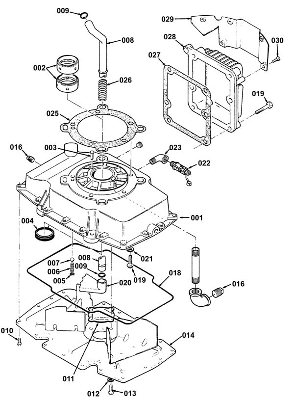
P248V Cylinder Block - 169-4004 |
|
| RefNbr |
Part Number |
Description |
Req |
Notes |
| 002 |
169-0211 |
Fuel pump vacuum tube |
1 |
|
| 003 |
169-0212 |
Breather hole plug |
1 |
|
| 004 |
169-0213 |
Core hole plug |
1 |
|
| 005 |
169-0214 |
Camshaft bearing |
2 |
|
| 007 |
169-0216 |
Alignment dowel pin |
2 |
|
| 008a |
169-0217 |
Upper crankshaft flanged bearing Standard |
1 |
|
| 008b |
169-0218 |
Upper crankshaft flanged bearing Undersized |
1 |
|
| 008c |
169-0219 |
Upper crankshaft flanged bearing Undersized |
1 |
|
| 008d |
169-0220 |
Upper crankshaft flanged bearing Undersized |
1 |
|
| 008e |
169-0221 |
Upper crankshaft flanged bearing Undersized |
1 |
|
| 009 |
999-0297 |
Bolt 1/4-20 x 1 hex head stainless steel |
2 |
|
| 010 |
999-0377 |
Washer 6 SAE flat plain finish |
2 |
|
| 012 |
169-0223 |
Oil line transfer |
1 |
|
| 013a |
169-0224 |
Crankshaft end play shim 5 in thick |
|
|
| 013b |
169-0325 |
Hex pipe plug 17dw |
|
|
| 014 |
169-0671 |
Washer thrust |
2 |
|
| 015 |
169-0044 |
Head gasket (Onan 20) |
2 |
|
| 016a |
169-0227 |
Cylinder head left side |
1 |
|
| 016b |
169-0228 |
Cylinder head right side (OBSOLETE) |
1 |
|
| 017 |
999-0028 |
Washer 5/16 split lock plain finish |
18 |
|
| 018 |
169-0169 |
Head bolt |
18 |
|
| 019 |
169-0172 |
Intake valve |
2 |
|
| 020 |
169-0147 |
Exhaust valve (OBSOLETE) |
2 |
|
| 021a |
169-0231 |
Intake valve seat Standard |
2 |
|
| 021b |
169-0200 |
0.10 over intake valve seat |
2 |
|
| 022a |
169-0237 |
P218,220,248V Connecting Rod w/nuts bolts standard (OBSOLETE |
2 |
|
| 022b |
169-0238 |
P218,220,248V Connecting Rod w/nuts and bolts (OBSOLETE) |
2 |
|
| 022c |
169-0239 |
P218,220,248V Connecting Rod w/nuts and bolts .020 in |
2 |
|
| 022d |
169-0240 |
P218,220,248V Connecting Rod w/nuts and bolts .030 in |
2 |
|
| 023 |
169-0672 |
Bolt connecting rod |
4 |
|
| 024 |
169-0673 |
Nut connecting rod |
4 |
|
| 025a |
169-0198 |
Piston kit standard (includes pin, retaining rings,ring set) |
2 |
|
| 025b |
169-0242 |
Piston Kit w/pin and rings .005 in |
2 |
|
| 025c |
169-0243 |
Piston Kit w/pin and rings .001 in |
2 |
|
| 025d |
169-0244 |
Piston Kit w/pin and rings .020 in (OBSOLETE) |
2 |
|
| 025e |
169-0245 |
Piston Kit w/pin and rings .030 in |
2 |
|
| 026 |
169-0197 |
Piston pin |
2 |
|
| 027 |
169-0247 |
Retaining ring |
4 |
|
| 028a |
169-0253 |
Piston ring kit Spec D standard |
2 |
|
| 028b |
169-0254 |
Piston ring kit Spec D .005in |
2 |
|
| 028c |
169-0255 |
Piston ring kit Spec D .010in |
2 |
|
| 028d |
169-0256 |
Piston ring kit Spec D .020in |
2 |
|
| 028e |
169-0297 |
Center pin |
2 |
|
| 029a |
169-0258 |
Exhaust valve seat standard |
2 |
|
| 029b |
169-0259 |
Exhaust valve seat .002in |
2 |
|
| 029c |
169-0260 |
Exhaust valve seat .005in |
2 |
|
| 029d |
169-0261 |
Exhaust valve seat .010in |
2 |
|
| 029e |
169-0148 |
Seat exhaust valve oversize .025 |
2 |
|
| 030 |
169-0263 |
Exhaust valve guide |
2 |
|
| 031 |
169-0264 |
Valve tappet standard-OBSOLETE |
4 |
|
| 032 |
169-0265 |
Valve spring lock |
8 |
|
| 034 |
169-0267 |
Valve spring retainer |
4 |
|
| 035 |
169-0695 |
Valve spring |
4 |
|
| 036 |
169-0269 |
Intake valve seal |
2 |
|
| 037 |
169-0270 |
Intake valve guide |
2 |
|
| 038a |
169-0271 |
Camshaft opening expansion plug 1.625in |
1 |
|
| 038b |
169-0272 |
Camshaft opening expansion plug 1.665in OBSOLETE |
1 |
|
| 039 |
169-0273 |
Cover plate gasket |
1 |
|
| 040 |
169-0274 |
Ignition plunger cover plate |
1 |
|
| 041 |
999-0377 |
Washer 6 SAE flat plain finish |
2 |
|
| 042 |
999-0620 |
Screw 1/4-20 x 5/8 hex washer slot thread cutting zinc |
2 |
|
| 043 |
169-0003 |
Valve cover gasket |
2 |
|
| 044 |
169-0276 |
Valve box cover |
2 |
|
| 045 |
999-0016 |
Washer 1/4 flat plain finish |
2 |
|
| 046 |
999-0394 |
Bolt 1/4-20 x 1 3/4 hex head grade 5 zinc plated |
2 |
|
| 047 |
169-0204 |
Crankcase breather |
1 |
|
| 048 |
169-0278 |
Hose clamp |
2 |
|
| 049 |
169-0279 |
Breather mounting bracket-OBSOLETE |
1 |
|
| 050 |
999-0512 |
Bolt 3/8-24 x 3/4 hex head grade 5 zinc plated |
1 |
|
| 051 |
999-0120 |
Washer 3/8 SAE flat |
1 |
|
| 052 |
169-0202 |
Relief valve spring |
1 |
|
| 053 |
169-0281 |
Dowel pin plug |
1 |
|
| 054 |
169-0282 |
Breather adapter |
1 |
|
| 055 |
169-0283 |
Breather hose |
1 |
|
| N/S |
169-0440 |
Breather tube |
|
|
|
|
P248V Camshaft - 169-4005 |
|
| RefNbr |
Part Number |
Description |
Req |
Notes |
| 001 |
169-0290 |
Retaining ring |
1 |
|
| 002 |
169-0291 |
Governor cup hub |
1 |
|
| 003 |
169-0292 |
Governor cup |
1 |
|
| 004 |
169-0293 |
Governor ball (OBSOLETE) |
5 |
|
| 005 |
169-0294 |
Gear assembly w/spacer & plate |
1 |
|
| 006 |
169-0669 |
Washer gear retaining |
1 |
|
| 007 |
169-0288 |
Crankshaft gear key |
1 |
|
| 008 |
169-0296 |
Camshaft assembly w/ center pin P220V, P248V-OBSOLETE |
1 |
|
| 009 |
169-0297 |
Center pin |
1 |
|
|
|
P248V Crankshaft - 169-4006 |
|
| RefNbr |
Part Number |
Description |
Req |
Notes |
| 001 |
169-0285 |
Crankshaft P218V,P220V,P248V |
1 |
|
| 002 |
169-0286 |
Retaining ring |
1 |
|
| 003 |
169-0676 |
Washer gear retaining |
1 |
|
| 004 |
169-0287 |
Crankshaft gear |
1 |
|
| 005 |
169-0288 |
Crankshaft gear key |
1 |
|
|
|
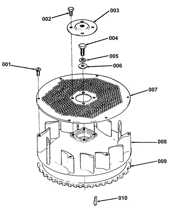
P248V Flywheel - 169-4007 |
|
| RefNbr |
Part Number |
Description |
Req |
Notes |
| 001 |
169-0668 |
Screw 10-24 x 38 locking head flange torx drive |
6 |
|
| 002 |
999-0104 |
Screw 5/16-18 x 1/2 socket head alloy plain finish |
4 |
|
| 003 |
169-0348 |
Lifting bracket |
1 |
|
| 004 |
169-0670 |
Screw special hex head cap |
1 |
|
| 005 |
999-0328 |
Washer 7/16 USS flat |
1 |
|
| 006 |
999-0328 |
Washer 7/16 USS flat |
1 |
|
| 007 |
169-0349 |
Air inlet screen |
1 |
|
| 010 |
169-0353 |
Flywheel key |
1 |
|
|
|
P248V Gearcase - 169-4008 |
|
| RefNbr |
Part Number |
Description |
Req |
Notes |
| 001 |
169-0171 |
Gear case kit |
1 |
|
| 002 |
999-0411 |
Screw 8-32 x 3/8 pan head slotted zinc plated |
2 |
|
| 003 |
169-0517 |
Governor Shaft Yoke |
1 |
|
| 004 |
169-0355 |
Govenor shaft and arm-OBSOLETE |
1 |
|
| 005 |
169-0356 |
Governor shaft oil seal |
1 |
|
| 006 |
169-0357 |
Governor shaft bearing |
1 |
|
| 007 |
169-0358 |
Governor shaft bearing ball |
1 |
|
| 008 |
169-0359 |
Governor cup stop dowel pin |
1 |
|
| 009 |
169-0170 |
Gear case mounting gasket |
1 |
|
| 010 |
999-0024 |
Washer 5/16 flat stainless steel |
5 |
|
| 011 |
999-0573 |
Screw 5/16-18 x 1 1/4 socket head alloy plain finish |
4 |
|
| 012 |
169-0361 |
Ignition control insulator |
1 |
|
| 013 |
169-0181 |
Ignition control |
1 |
|
| 014 |
999-0053 |
Washer #10 split lock plain finish |
2 |
|
| 015 |
169-0647 |
Bolt 10-32 x 3/8 washer head |
2 |
|
| 016 |
169-0649 |
Screw torx drive |
3 |
|
| 018 |
169-0365 |
Stator leads terminal |
2 |
|
| 019 |
169-0185 |
Upper crankshaft oil seal |
1 |
|
| 020 |
999-0525 |
Nut 5/16-18 flange lock serrated zinc plated |
1 |
|
| 021 |
999-0069 |
Nut 5/16-18 hex |
1 |
|
| 022 |
169-0366 |
Mounting stud |
1 |
|
| 023 |
169-0367 |
Governor end control rod clip |
1 |
|
|
|
P248V Oil Base - 169-4009 |
|
| RefNbr |
Part Number |
Description |
Req |
Notes |
| 001 |
169-0300 |
Oil base assembly 17dt |
1 |
|
| 002a |
169-0302 |
Lower bearing crankshaft standard |
2 |
|
| 002b |
169-0303 |
Lower bearing crankshaft .002 in. |
2 |
|
| 002c |
169-0304 |
Lower bearing crankshaft .010 in. |
2 |
|
| 002d |
169-0305 |
Lower bearing crankshaft .020 in. |
2 |
|
| 002e |
169-0306 |
Lower bearing crankshaft .030 in. |
2 |
|
| 004 |
169-0150 |
Lower crankshaft oil seal (OBSOLETE) |
1 |
|
| 005 |
169-0201 |
Retaining Ring |
1 |
|
| 006 |
169-0202 |
Relief valve spring |
1 |
|
| 007 |
169-0203 |
Steel ball |
1 |
|
| 008 |
169-0311 |
Oil pickup tube |
1 |
|
| 009 |
169-0189 |
Oil cup O-ring |
2 |
|
| 010 |
169-0620 |
Washer flat |
19 |
|
| 011 |
169-0088 |
Inner oil base seal |
1 |
|
| 012 |
999-0549 |
Washer 5/16 x 3/4 SAE flat stainless steel |
4 |
|
| 013 |
169-0667 |
Bolt 5/16-18 x 3/4inch thread forming |
4 |
|
| 014 |
169-0314 |
Oil base cover 17bw, 17cg 17dt |
1 |
|
| 016 |
169-0318 |
Square head plug |
3 |
|
| 018 |
169-0089 |
Outer oil base seal |
1 |
|
| 019 |
999-0542 |
Bolt 3/8-16 x 1 3/4 hex head grade 5 zinc plated |
9 |
|
| 020 |
N/A |
Not available |
1 |
(Oil pickup cup) |
| 021 |
999-0120 |
Washer 3/8 SAE flat |
5 |
|
| 022 |
154-0042 |
Oil drain valve kit |
1 |
|
| 023 |
169-0324 |
Street elbow 3/8 in. |
1 |
|
| 025 |
169-0149 |
Oil base gasket |
1 |
|
| 026 |
169-0327 |
Oil pickup tube spring |
1 |
|
| 027 |
169-0186 |
Oil cooler gasket |
1 |
|
| 028 |
169-0329 |
Oil cooler |
1 |
|
| 029 |
169-0330 |
Oil cooler baffle |
1 |
|
| 030 |
169-0666 |
Bolt washer head cap |
2 |
|
|
|
P248V Blower Housing - 169-4010 |
|
| RefNbr |
Part Number |
Description |
Req |
Notes |
| 002 |
169-0332 |
Hose clamp 7/16 in. |
4 |
|
| 005 |
999-0269 |
Screw 10-24 x 5/8 pan head phillips zinc plated |
2 |
|
| 006 |
169-0335 |
Fuel fitting cap (outlet) |
1 |
|
| 010 |
169-0187 |
Engine mounted auto-shut down control unit (OBSOLETE) |
1 |
|
| 011 |
169-0664 |
Screw 8-32 x 1/2 torx |
2 |
|
| 012 |
169-0091 |
Capacitor (condenser) |
1 |
|
| 013 |
999-0620 |
Screw 1/4-20 x 5/8 hex washer slot thread cutting zinc |
4 |
|
| 014 |
169-0666 |
Bolt washer head cap |
2 |
|
| 016 |
169-0666 |
Bolt washer head cap |
2 |
|
| 017 |
169-0045 |
Ignition coil without brackets |
1 |
|
| 018 |
169-0342 |
Coil mounting clamp |
1 |
|
| 020 |
169-0659 |
Screw lock head |
1 |
|
| 021 |
169-0345 |
Blower housing spec H |
1 |
|
| 022 |
999-0123 |
Washer 1/4 SAE flat zinc plated |
4 |
|
|
|
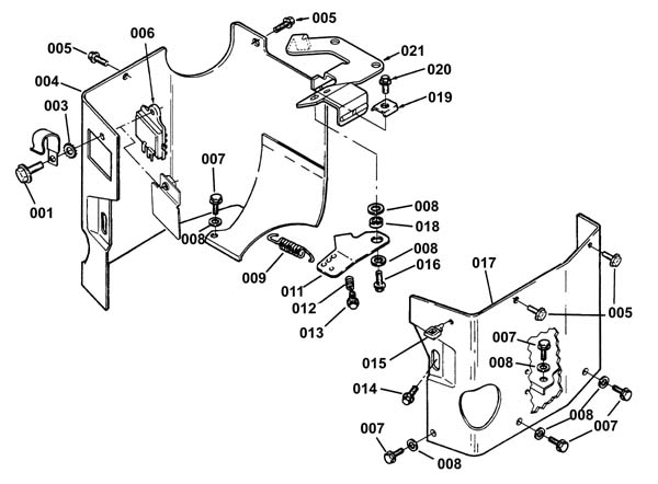
P248V Air Cylinder Housing - 169-4011 |
|
| RefNbr |
Part Number |
Description |
Req |
Notes |
| 001 |
169-0659 |
Screw lock head |
1 |
|
| 003 |
169-0663 |
Washer lock |
1 |
|
| 004 |
169-0369 |
Right air cylinder housing |
1 |
|
| 005 |
169-0662 |
Bolt 1/4-20 x 5/16 inch washer head cap |
4 |
|
| 006 |
169-0069 |
20HP voltage regulator |
1 |
|
| 007 |
999-0620 |
Screw 1/4-20 x 5/8 hex washer slot thread cutting zinc |
4 |
|
| 008 |
999-0123 |
Washer 1/4 SAE flat zinc plated |
7 |
|
| 009 |
169-0095 |
Governor return spring 20 HP |
1 |
|
| 011 |
169-0374 |
Governor control arm |
1 |
|
| 012 |
169-0375 |
Governor idle spring |
1 |
|
| 013 |
999-0379 |
Screw 6-32 x 7/8 hex washer head slotted zinc |
1 |
|
| 014 |
169-0661 |
Bolt washer cap head |
2 |
|
| 015 |
169-0376 |
Spark plug cable wire clip |
1 |
|
| 016 |
999-0018 |
Bolt 1/4-20 x 1/2 hex cap grade 5 zinc plated |
2 |
|
| 017 |
169-0377 |
Left air cylinder housing |
1 |
|
| 018 |
169-0379 |
Governor control bushing (OBSOLETE) |
1 |
|
| 020 |
169-0634 |
Bolt 10-32 x 7/8 inch washer head thread forming |
1 |
|
| 021 |
169-0381 |
Governor mounting bracket |
1 |
|
|
|
P248V Precleaner - 169-4012 |
|
| RefNbr |
Part Number |
Description |
Req |
Notes |
| 001 |
169-0346 |
Filter cage |
1 |
|
| 002 |
169-0017 |
Dust bonnet |
1 |
|
| 003 |
169-0660 |
Screw torx |
4 |
|
|
|
P248V Intake Manifold LPG - 169-4015 |
|
| RefNbr |
Part Number |
Description |
Req |
Notes |
| 001 |
999-0730 |
Bolt 5/16-18 x 2 1/2 hex head grade 5 zinc plated |
4 |
|
| 002 |
169-0084 |
Washer 8M flat |
4 |
|
| 003 |
169-0034 |
Intake manifold gasket |
2 |
|
| 004 |
169-0409 |
Intake manifold P248V |
1 |
|
| 006 |
999-0028 |
Washer 5/16 split lock plain finish |
2 |
|
| 007 |
169-0411 |
Carburetor mounting gasket P248V |
1 |
|
| 009 |
169-0012 |
LP carb kit -- includes base that bolts onto intake manifold |
1 |
|
| 010 |
169-0414 |
LPG adapter |
1 |
|
| 011 |
169-0415 |
Governor control rod |
1 |
|
| 012 |
169-0138 |
Governor Rod spring |
1 |
|
| 013 |
169-0043 |
Control rod clip |
1 |
|
| N/S |
169-0012 |
LP carb kit -- includes base that bolts onto intake manifold |
1 |
(Includes 169 - 4019, 169 - 0413, and 169 - 0411) |
| N/S |
169-0419 |
Plug Expansion |
1 |
|
|
|
P248V LP Regulator - 169-4016 |
|
| RefNbr |
Part Number |
Description |
Req |
Notes |
| 002 |
169-0072 |
Fuel shutoff valve (OBSOLETE) |
1 |
|
| 003 |
169-0028 |
Fuel regulator |
1 |
|
| 004 |
169-0423 |
90 degree brass elbow |
1 |
|
| 005 |
169-0424 |
Hose clamp |
2 |
|
| 008 |
169-0659 |
Screw lock head |
2 |
|
| 009 |
999-0016 |
Washer 1/4 flat plain finish |
1 |
|
| 010 |
169-0427 |
Loop clamp |
2 |
|
|
|
P248V Air Cleaner - 169-4021 |
|
| RefNbr |
Part Number |
Description |
Req |
Notes |
| 001 |
169-0440 |
Breather tube |
1 |
|
| 003 |
999-0306 |
Nut 1/4-20 wing zinc plated |
1 |
|
| 004 |
169-0021 |
Air cleaner lock nut (OBSOLETE) |
1 |
|
| 005 |
169-0014 |
Hood for covering the air cleaner |
1 |
|
| 007 |
169-0445 |
Element cover |
1 |
|
| 008 |
169-0024 |
Air filter pre filter wrapper |
1 |
|
| 009 |
169-0025 |
Air filter cartridge (OBSOLETE) |
1 |
|
| 010 |
999-0540 |
Screw 10-32 x 3/4 socket head alloy plain finish |
3 |
|
| 011 |
169-0013 |
Hood support stud |
1 |
|
| 012 |
169-0450 |
Air cleaner pan (OBSOLETE) |
1 |
|
|
|
P248V Starter Components - 169-4023 |
|
| RefNbr |
Part Number |
Description |
Req |
Notes |
| 000 |
169-0027 |
Starter (ONAN PERFORMER ENGINE ONLY) |
1 |
|
| 001 |
169-0457 |
Hardware kit |
1 |
|
| 002 |
169-0458 |
Mounting bracket kit |
1 |
|
| 003 |
169-0459 |
Bushing kit |
1 |
|
| 004 |
169-0677 |
Bolt 5/16-18 x 3-1/2 |
2 |
|
| 005 |
999-0024 |
Washer 5/16 flat stainless steel |
2 |
|
| 007 |
169-0461 |
Dust seal kit |
1 |
|
| 009 |
169-0463 |
Shift lever kit |
1 |
|
| 010 |
169-0464 |
Solenoid kit |
1 |
|
| 011 |
169-0465 |
Solenoid cap |
1 |
|
| 012 |
999-0308 |
Nut 8-32 plain |
1 |
|
|
|
P248V Electronic Ignition - 169-4024 |
|
| RefNbr |
Part Number |
Description |
Req |
Notes |
| 003a |
169-0453 |
Spark plug cable, short (right while operating) (OBSOLETE) |
1 |
|
| 003b |
169-0454 |
Spark plug cable, long (left while operating) (OBSOLETE) |
1 |
|
| 004 |
169-0657 |
Nut M5 hex flange |
1 |
|
| 005 |
169-0658 |
Nut M4 hex flange |
1 |
|
| 006 |
169-0455 |
Terminal wire clip |
1 |
|
|
|
P248V Oil Filter - 169-4025 |
|
| RefNbr |
Part Number |
Description |
Req |
Notes |
| 001a |
169-0466 |
Oil filter 4-1/4in |
1 |
|
| 001b |
169-0019 |
Oil filter Onan 20 |
1 |
|
| 002 |
169-0468 |
Oil filter gasket |
1 |
|
| 003 |
169-0146 |
Gasket for adapter oil filter |
1 |
|
| 004 |
169-0145 |
Oil filter adapter with filter pipe (OBSOLETE) |
1 |
|
| 005 |
169-0647 |
Bolt 10-32 x 3/8 washer head |
1 |
|
| 007 |
169-0472 |
Oil drain seal |
1 |
|
| 008 |
999-0024 |
Washer 5/16 flat stainless steel |
2 |
|
| 009 |
999-0031 |
Bolt 5/16-18 x 1 hex head grade 5 zinc plated |
2 |
|
| 012 |
154-0143 |
Oil pressure switch with 2 prongs |
1 |
|
|
|
P248V Oil Fill - 169-4026 |
|
| RefNbr |
Part Number |
Description |
Req |
Notes |
| 001 |
169-0684 |
Dipstick with cap 14-1/4 inch (Onan 20) (OBSOLETE) |
1 |
|
| 005 |
169-0656 |
Nut U-type speed |
1 |
|
| 006 |
169-0489 |
Oil fill tube Spec H |
1 |
|
|
|
P248V Muffler - 169-4027 |
|
| RefNbr |
Part Number |
Description |
Req |
Notes |
| 001 |
169-0499 |
Muffler guard platform |
1 |
|
| 002 |
169-0500 |
Muffler guard |
1 |
|
| 003 |
169-0653 |
Bolt washer head |
4 |
|
| 004 |
169-0654 |
Bolt washer head |
3 |
|
| 005a |
169-0008 |
Catalytic muffler (oxygen sensor in barrel) (Onan 20) |
1 |
|
| 005b |
164-4009 |
Muffler (OBSOLETE) |
1 |
|
| 006 |
999-0028 |
Washer 5/16 split lock plain finish |
4 |
|
| 007 |
999-0132 |
Bolt 5/16-18 x 3/4 hex head grade 5 zinc plated |
4 |
|
| 008 |
169-0010 |
Muffler gasket for 20 HP Onan |
2 |
|
| 009 |
169-0090 |
Oxygen sensor 3 wire |
1 |
|
| 010 |
169-0142 |
Muffler plug |
1 |
|
| 011 |
169-0143 |
Muffler plug shim |
1 |
|
| 012 |
999-0578 |
Bolt 3/8-16 x 1/2 hex head grade 5 plain finish |
2 |
|
|
|
P248V Engine Wiring Harness - 169-4030 |
|
| RefNbr |
Part Number |
Description |
Req |
Notes |
| 003 |
169-0455 |
Terminal wire clip |
1 |
|
| 004 |
169-0637 |
Screw 1/4-14 x 1/2 |
1 |
|
| 006 |
169-0538 |
Connector housing 35CH/CJ/DK/BB/CW/CS/DG |
2 |
|
| 007 |
169-0540 |
Tab connector housing |
1 |
|
| 008 |
154-0264 |
Silicon rectifier diode |
1 |
|
| 009a |
169-0542 |
Lock receptacle |
1 |
|
| 009b |
169-0543 |
Lock receptacle 35DK |
2 |
|
| 010 |
169-0544 |
Receptacle housing 35DK |
1 |
|
|
|
- Commonly Asked For Parts - 169-5002 |
|
| RefNbr |
Part Number |
Description |
Req |
Notes |
| 01 |
169-0012 |
LP carb kit -- includes base that bolts onto intake manifold |
|
includes carburator |
|
|
- Frequently Replaced Parts - 169-5556 |
|
| RefNbr |
Part Number |
Description |
Req |
Notes |
| 1 |
169-0019 |
Oil filter Onan 20 |
1 |
|
| 2 |
169-0024 |
Air filter pre filter wrapper |
1 |
|
| 3 |
169-0025 |
Air filter cartridge (OBSOLETE) |
1 |
|
| 4 |
166-0002 |
Spark plug for Onan 20 |
1 |
|
| 5 |
169-0027 |
Starter (ONAN PERFORMER ENGINE ONLY) |
1 |
|
| 6 |
169-0028 |
Fuel regulator |
1 |
|
| 7 |
169-0072 |
Fuel shutoff valve (OBSOLETE) |
1 |
|
| 8 |
169-0006 |
Plug wire kit |
1 |
|
| 9 |
991-1601 |
Oxygen sensor 1 wire (OBSOLETE) |
1 |
|
| 10 |
169-0684 |
Dipstick with cap 14-1/4 inch (Onan 20) (OBSOLETE) |
1 |
|
| 11 |
169-0489 |
Oil fill tube Spec H |
1 |
|
| 13a |
169-0023 |
Ignition coil with brackets |
1 |
|
| 13b |
169-0045 |
Ignition coil without brackets |
1 |
|
| 14 |
169-0069 |
20HP voltage regulator |
1 |
|
| 15 |
165-0012 |
Spark plug boot (OBSOLETE) |
1 |
|
| 16 |
169-0017 |
Dust bonnet |
1 |
|
| 17 |
169-0008 |
Catalytic muffler (oxygen sensor in barrel) (Onan 20) |
1 |
|
| 18 |
169-0464 |
Solenoid kit |
1 |
|
|
|